Виды стендов и методы испытания тормозных систем. Существует несколько видов стендов и приборов, использующих различные методы и способы измерения тормозных качеств: статические силовые, инерционные платформенные, инерционные роликовые, силовые роликовые стенды, а также приборы для измерения замедления автомобиля при дорожных испытаниях.
Статические силовые стенды для диагностирования тормозной системы автомобиля представляют собой роликовые или платформенные устройства, предназначенные для проворачивания «срыва» заторможенного колеса и измерения прикладываемой при этом силы. Такие стенды могут иметь гидравлический, пневматический или механический привод. Измерение тормозной силы возможно при вывешенном колесе или при его опоре на гладкие беговые барабаны. Недостатком статического способа диагностирования тормозов является неточность результатов, вследствие чего не воспроизводятся условия реального динамического процесса торможения.
Принцип действия инерционного платформенного стенда основан на измерении сил инерции (от поступательно и вращательно движущихся масс), возникающих при торможении автомобиля и приложенных в местах контакта колес с динамометрическими платформами. Такие стенды иногда используются на АТП для входного контроля тормозных систем или экспресс-диагностирования транспортных средств.
Инерционные роликовые стенды состоят из роликов, которые могут иметь привод от электродвигателя или от двигателя автомобиля. В последнем случае ведущие колеса автомобиля приводят во вращение ролики стенда, а от них с помощью механической передачи – и передние (ведомые) колеса.
После установки автомобиля на инерционный стенд окружную скорость колес доводят до 50…70 км/ч и резко тормозят, одновременно разобщая все каретки стенда путем выключения электромагнитных муфт. При этом в местах контакта колес с роликами (лентами) стенда возникают силы инерции, противодействующие тормозным силам. Через некоторое время вращение барабанов стенда и колес автомобиля прекращается. Пути, пройденные каждым колесом автомобиля за это время (или угловое замедление барабана), будут эквивалентны тормозным путям и тормозным силам. Тормозной путь определяют по частоте вращения роликов стенда, фиксируемой счетчиком, или по продолжительности их вращения, измеряемой секундомером, а замедление – угловым деселерометром.
Метод, реализуемый инерционным роликовым стендом, создает условия торможения автомобиля, максимально приближенные к реальным. Но в силу дороговизны стенда, недостаточной безопасности, трудоемкости и больших затрат времени, необходимого для диагностирования, стенды такого типа нерационально использовать при проведении диагностирования на АТП.
Силовые роликовые стенды с использованием сил сцепления колеса с роликом позволяют измерять тормозные силы в процессе его вращения со скоростью 2…10 км/ч. Такая скорость выбрана вследствие того, что повышение скорости более 10 км/ч дает незначительное приращение информации о работоспособности тормозной системы. Тормозную силу каждого колеса измеряют, затормаживая его. Вращение колес осуществляется роликами стенда от электродвигателя. Тормозные силы определяют по реактивному моменту, возникающему на статоре мотор-редуктора стенда при торможении колес.
Роликовые тормозные стенды позволяют получать достаточно точные результаты проверки тормозных систем. При каждом повторении испытания они способны создать условия (прежде всего скорость вращения колес), абсолютно одинаковые с предыдущими, что обеспечивается точным заданием начальной скорости торможения внешним приводом. Кроме того, при испытании на силовых роликовых тормозных стендах предусмотрено измерение так называемой «овальности» – оценка неравномерности тормозных сил за один оборот колеса, т.е., исследуется вся поверхность торможения.
При испытании на роликовых тормозных стендах, когда усилие передается извне, от тормозного стенда, физическая картина торможения не нарушается. Тормозная система должна поглотить поступающую извне энергию даже несмотря на то, что автомобиль не обладает кинетической энергией.
Есть еще одно важное условие – безопасность испытаний. Самые безопасные испытания – на силовых роликовых тормозных стендах, поскольку кинетическая энергия испытуемого автомобиля на стенде равна нулю. Следует отметить, что по совокупности своих свойств именно силовые роликовые стенды являются наиболее оптимальным решением как для АТП, так и для диагностических станций, проводящих гостехосмотр.
Современные силовые роликовые стенды для проверки тормозных систем могут определять ряд параметров:
— по общим параметрам транспортного средства и состоянию тормозной системы – сопротивление вращению незаторможенных колес; неравномерность тормозной силы за один оборот колеса; массу, приходящуюся на колесо; массу, приходящуюся на ось; силу сопротивления вращению незаторможенных колес;
— по рабочей тормозной системе – наибольшую тормозную силу; время срабатывания тормозной системы; коэффициент неравномерности (относительную неравномерность) тормозных сил колес оси; удельную тормозную силу; усилие на орган управления;
— по стояночной тормозной системе – наибольшую тормозную силу; удельную тормозную силу; усилие на орган управления.
Данные контроля выводятся на дисплей в виде цифровой или графической информации, или на приборную стойку (в случае применения стрелочного вывода информации). Результаты диагностирования могут выводиться на печать и храниться в памяти компьютера как база данных диагностируемых автомобилей.
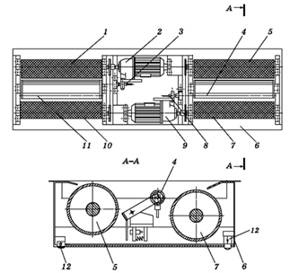
Принципиальное устройство силовых роликовых стендов для диагностирования тормозных систем. Основными компонентами такого стенда (рис. 7.3) обычно являются два взаимонезависимых комплекта роликов, размещенных в опорно‑воспринимающем устройстве, соответственно для левой и правой сторон автомобиля, силовой шкаф, стойка, пульт дистанционного управления и силоизмерительное устройство давления на тормозную педаль. Автотранспортное средство устанавливается на испытательный стенд так, чтобы колеса проверяемой оси располагались на роликах.
Опорно-воспринимающее устройство (рис. 22.3) предназначено для размещения опорных роликов и принудительного вращения колес диагностируемой оси автомобиля, а также для формирования (с помощью датчиков тормозной силы и веса) электрических сигналов, пропорциональных соответственно тормозной силе и части веса автомобиля, приходящегося на каждое колесо диагностируемой оси.

1, 5, 7, 10 – ролики; 2, 9 – мотор-редукторы; 3, 8 – тензометрические датчики; 4, 11 – следящие ролики; 6 – рама; 12 – датчики веса
Опорно-воспринимающее устройство (рис. 22.3) состоит из рамы 6 коробчатого сечения, в которой на сферических самоустанавливающихся подшипниках расположены две пары опорных роликов 5, 7 и 1, 10, связанные, попарно каждая, между собой приводной цепью.
Ролики 3 и 5 связаны посредством «глухих» муфт-звездочек с соосно расположенными мотор-редукторами 2 и 9. Каждая пара роликов имеет автономный привод от соединенного с ним жестким валом электродвигателя мощностью 4…13 кВт. Электрический двигатель мотор-редуктора приводит ролики в движение и затем поддерживает постоянную скорость вращения. Приводные двигатели для комплектов роликов могут приводиться в действие с помощью дистанционного управления, благодаря которому команды на измерения можно подавать из автомобиля, или с помощью интегрального автоматического двухпозиционного переключателя.
Как, правило, в тормозных стендах используются планетарные редукторы, имеющие высокие передаточные отношения (32…34), что позволяет получать небольшую скорость вращения роликов. Электродвигатель переменного тока приводит в движение ведущий ролик посредством зубчатой передачи. Задние концы мотор-редукторов установлены в сферических подшипниках, при этом мотор-редукторы оказываются балансирно-подвешенными. Корпуса мотор-редукторов связаны с тензометрическими датчиками 3 и 8.
Между опорными роликами установлены свободно вращающиеся подпружиненные следящие ролики 4 и 11, имеющие по два датчика: датчик наличия автомобиля на опорных роликах, который при опускании следящего ролика выдает соответствующий сигнал, и датчик слежения вращения колеса, выдающий соответствующие сигналы при вращении колеса диагностируемого транспортного средства.
В настоящее время некоторые производители, например, CARTEC, в своих стендах не устанавливают следящих роликов. Такие стенды оснащены датчиками, которые обеспечивают бесконтактное определение присутствия автомобиля на роликах стенда. Датчики определяют присутствие автомобиля на стенде и при правильном положении автомобиля на роликах стенда 9в продольном и поперечном направлениях) дают сигнал на пуск приводных двигателей.
На раме внизу под опорными роликами размещены четыре датчика веса 12, имеющие на концах упоры для установки и фиксации опорного устройства в фундаментной яме (или на раме).
Раму опорно-воспринимающего устройства укладывают на резиновые подкладки, чтобы погасить вибрацию. Поверхности роликов силовых стендов делают рифлеными со стальной наваркой, обеспечивающей постоянный коэффициент сцепления по мере износа роликов, или же покрывают базальтом, бетоном и другими материалами, обеспечивающими хорошее сцепление шин. Для лучшего сцепления роликов с шинами колес оба ролика делают ведущими, а расстояние между ними – таким, чтобы обеспечить невозможность съезда автомобиля со стенда при торможении. Выезд автомобиля со стенда после проверки тормозов ведущей оси обеспечивается реактивным моментом мотор‑редукторов или подъемниками, расположенными между роликами. Иногда для этой цели один из роликов (со стороны выезда) снабжают устройством, допускающим вращение только в одну сторону.
Тормозные стенды оборудованы специальными устройствами, предотвращающими пуск роликовых агрегатов в случае, когда одно или оба колеса блокированы. Таким образом автомобиль и шины защищены от повреждения роликами. Запуск блокируется также в случае нажатия педали тормоза раньше времени, слишком высокого сопротивления вращению роликов одного или обоих колес, зажатия тормозных колодок и т.п.
Принцип действия силовых роликовых стендов. При въезде автомобиля на тормозной стенд производится измерение веса оси, если имеется взвешивающее устройство. При отсутствии взвешивающего устройства вес оси может вводиться с другого стенда, например, для проверки амортизаторов. Когда автомобиль устанавливается на испытательный стенд, то следящие ролики нажимаются вниз и передают стенду сигнал о приведение стенда в действие. Для включения тормозного стенда должны быть нажаты оба ролика. В дальнейшем следящие ролики служат для определения проскальзывания шины относительно беговых роликов и дают сигнал на отключение приводных мотор-редукторов при проскальзывании.
Принцип действия стендов основан на преобразовании тензорезисторными датчиками реактивных моментов тормозных сил, возникающих при торможении колес автомобиля, а также силы тяжести и автомобиля, действующая на роликовые агрегаты, в аналоговые электрические сигналы. Затормаживаемое колесо приводится во вращение роликами. Во время торможения в зависимости от величины тормозной силы на балансирно-подвешенном мотор-редукторе возникает реактивный момент. Корпус мотор-редуктора при этом поворачивается на угол, пропорциональный тормозной силе. Реактивный момент, возникающий при вращении мотор-редуктора, воспринимается тензометрическими датчиками 3 и 8 (см. рис. 1.38), один конец которых закреплен на лапах мотор-редукторов, а второй – на раме 6. Сигналы с тензометрических датчиков в зависимости от реактивных моментов тормозных сил, возникающих при торможении колес автомобиля, а также силы тяжести оси автомобиля, действующей на роликовые установки, преобразуются в аналоговые электрические сигналы.
Требуемый для остановки статора крутящий момент измеряется с помощью пьезо- или тензодатчиков (рис. 22.4). Частота вращения измеряется с помощью индуктивных датчиков или датчиков Холла.

Скорость вращения роликов тормозного стенда сравнивается со скоростью вращения следящих роликов. Разность скоростей вращения следящих роликов и роликов тормозного стенда определяет величину проскальзывания. При таком проскальзывании стенды автоматически отключают привод роликов тормозного стенда, что предохраняет шины от повреждений. При проверке обычно тормозят до тех пор, пока по меньшей мере один следящий ролик не отметит превышение нормативной величины проскальзывания и, таким образом, не отключит приводные двигатели. При достижении одним колесом установленной границы проскальзывания оба ролика отключаются. Максимальное измеренное значение записывается как максимальная тормозная сила.
Проверка усилия на тормозной педали позволяет определять не только нормируемые значение, но и работоспособность вакуумного усилителя тормозной системы и сравнивать режимы работы колесных тормозных механизмов.
Сигналы от тензорезисторных датчиков поступают в компьютер, где они автоматически обрабатываются по специальной программе. По результатам измерений тормозных сил и массы автомобиля вычисляют осевую и общую удельную тормозные силы и неравномерность тормозных сил. Результаты измерений и вычисленные значения представляются в виде графических и цифровых результатов на мониторе и распечатываются в виде протокола измерений печатающим устройством.
Радиодатчики давления. Благодаря этим радиодатчикам теперь нет необходимости в шлангах и кабелях. До 10 радиодатчиков давления с аккумуляторами и антеннами могут одновременно передавать свои данные, то есть величины гидро- и пневмодавления, на дисплей
Для диагностирования тормозных систем применяются или специальные стенды (рис. 22.5) или обычные стенды, имеющие функцию проверки мототранспортных средств.

Технологическая последовательность измерения параметров на силовых роликовых тормозных стендах (на примере легкового автомобиля).
Устанавливают автомобиль на стенд для диагностирования тормозных систем (рис. 22.6).

Перед проверкой технического состояния тормозных систем транспортного средства на тормозном стенде необходимо:
— проверить давление воздуха в шинах транспортного средства и при необходимости довести до нормы;
— проверить шины транспортного средства на отсутствие повреждений и отслоения протектора, которые могут привести к разрушению шины при торможении на стенде;
— осмотреть колеса транспортного средства и убедиться в надежности их крепления и отсутствии инородных предметов между сдвоенными колесами;
— оценить степень нагрева элементов тормозных механизмов проверяемой оси органолептическим методом. Температура элементов тормозных механизмов должна быть не более 100 ºС. Оптимальными для проверки можно считать такие условия, при которых нагрев тормозных барабанов (дисков) позволяет удерживать незащищенную руку человека в непосредственном контакте с данным элементом в течение продолжительного времени. Проводить такую оценку следует, соблюдая меры предосторожности во избежание ожога.
— установить на тормозную педаль устройство (датчик усилия нажатия) для контроля параметров тормозных систем при достижении заданного усилия приведения в действие органа управления.
Перед диагностированием может производится просушка колес, которая осуществляется многократным нажатием на тормозную педаль. Эта операция необходима при проверке влажных колес, чтобы удалить влагу из тормозных механизмов и частично просушить шины.
Включают электродвигатели стенда и измеряют тормозные силы (без нажатия на тормозную педаль), вызванные сопротивлением качению колес. Эта величина пропорциональна вертикальной нагрузке на колесо и для легковых автомобилей обычно составляет 49-196 Н.
Если сила сопротивления качению колеса оказывается повышенной и составляет примерно 294-392 Н и более, это означает, что колесо заторможено. В данном случае следует выяснить причину, которая может заключаться в малом зазоре между тормозными колодками и барабаном (диском), заедании поршней в рабочих цилиндрах, ненормальном затягивании подшипников ступицы колеса и т. д.
Плавно нажимают на тормозную педаль с усилием не более 392 Н и снимают показания. Допустимая разность тормозных сил для колес одной оси не должна превышать 50 %.
Плавно нажимают на тормозную педаль так, чтобы создать на каждом колесе тормозную силу около 490-784 Н и поддерживают ее постоянной в течение 30-40 с.
Если имеется очень большая разница в показаниях тормозных сил, значит, в тормозные механизмы колес попала влага. Наиболее часто это явление можно наблюдать при проверке автомобилей, поступивших на стенд после мойки. Если различие между двумя показателями остается и после прогрева тормозов, то это объясняется следующими причинами:
- поверхность накладок тормозных колодок подверглась кристаллизации и сильному замасливанию и имеет низкий коэффициент трения. Это явление подтверждается при выполнении всего цикла испытания тем, что тормозная сила мало увеличивается, несмотря на наличие значительного усилия на тормозной педали;
- поршни рабочих цилиндров полностью заело в начальном положении. При этом отмечается, что увеличение усилия на педали тормоза не вызывает повышения тормозной силы на колесе.
Для уточнения возможной неисправности необходимо осмотреть тормозной механизм колеса. Если в процессе испытания тормозные силы одного или двух колес ритмично колеблются (амплитуда колебаний 196-392Н) при постоянном усилии нажатия на тормозную педаль (147-196 Н), то это свидетельствует о наличии эллипсности или несоосности барабанов и колеса, деформации дисков, неправильном профиле шин и др. Условно можно считать, что эллипсность или несоосность составляет примерно 0,1 мм на каждые 98 Н колебаний тормозной силы.
При отпускании тормозной педали измерительные стрелки (цифры) возвращаются к минимальным величинам, создаваемым сопротивлением качению. По скорости и равномерности возвращения стрелок (цифр) оценивают одновременность и качество растормаживания колес.
Увеличивая усилие нажатия на тормозную педаль до 49 Н, регистрируют тормозные силы до достижения блокирования колес. В ходе этих испытаний оценивают равномерность работы, тормозов.
Если наблюдается малое увеличение тормозных сил у обоих колес (например, при усилии на педали, равном 98 Н, тормозное усилие на колесах составляет 833 Н; при увеличении усилия на педали до 196 Н оно увеличивается только до 1176 Н вместо 1568-1666 Н), то это означает, что тип примененных на автомобиле фрикционных накладок или непригоден из чрезмерно высокой твердости, или же их поверхность кристаллизовалась или замаслилась в процессе эксплуатации.
Если наблюдается быстрое увеличение тормозных сил (пример, при усилии на педали, равном 98 Н, тормозная сила на колесах составляет 833 Н, а при увеличении усилия педали до 196 Н тормозная сила на колесах возрастает почти до 1960 Н), то тормоза имеют склонность к самоблокированию. Это особенно опасно при торможении на влажной дороге. Повышенная склонность к самоблокированию может вызываться слишком мягким материалом фрикционных накладок.
При барабанных тормозах аналогичное явление может возникать, если колодки неправильно отрегулированы. Кроме того, у автомобилей, имеющих усилитель тормозов, склонность к блокированию колес может быть вызвана неправильной работой усилителя.
Тормозные силы, которые создаются на колесах в момент их блокирования, имеют решающее значение для оценки эффективности действия тормозов. Однако следует иметь в виду, что величина тормозной силы, при которой происходит блокирование колес, определяется факторами, многие из которых не зависят от технического состояния тормозной системы автомобиля, например массой, приходящейся на одно колесо, давлением в шинах, износом и рисунком протектора.
Аналогичным образом проверяют тормоза задних колес.
Суммируя тормозные силы на каждом колесе, определяют удельную тормозную силу и, которая должна быть не менее 50% от полной массы автомобиля.
Для проверки ручного (стояночного) тормоза необходимо постепенно перемещать рычаг стояночного тормоза до достижения начала блокирования колес. Эту операцию следует проводить особенно осторожно, так как в момент блокирования колес автомобиль, не удерживаемый незаторможенными передними колесами, может переместиться со стенда рывком назад. Поэтому во время испытаний на расстоянии 2 м от автомобиля не должно быть людей.
Перемещая рычаг ручного тормоза, подсчитывают количество щелчков храпового механизма для того, чтобы проверить правильность регулировки привода. Одновременно проверяют эффективность торможения и равномерность действия привода. Технически исправный ручной тормоз должен обеспечивать тормозные силы на обоих колесах, сумма которых не должна быть меньше 16 % от полной массы автомобиля.
В той же последовательности производится измерения параметров тормозных систем с пневмоприводом. В пневмосистему при возможности устанавливается датчик давления. Для этого необходимо снять заглушку с клапана контрольного вывода питающего контура пневматической тормозной системы и на ее место вкрутить датчик давления.
Динамику процесса торможения можно наблюдать в графической интерпретации (рис. 22.7).

На рис. 22.7, а показано изменение тормозных сил (по вертикали) относительно усилия на педали тормоза (по горизонтали). На нем отражены зависимости тормозных сил от усилия нажатия на педаль тормоза как для левого колеса (верхняя кривая), так и для правого (нижняя кривая).
На рис. 22.7, б по вертикали показано изменение разности тормозных сил при торможении левого и правого колес. Из рисунка видно, что кривая торможения выходит за границы коридора, что недопустимо и свидетельствует о неустойчивом торможении.
Наблюдая характер изменения графика, оператор-диагност может сделать заключение о конкретной неисправности тормозной системы, например, по разнице тормозных сил, или по характеру изменения осциллограммы.
Дополнительно см. учебные фильмы
Технология проверки тормозной системы на стенде:
https://www.youtube.com/watch?v=BIbizLYpMIs
https://www.youtube.com/watch?v=m5HLVpXO6tM