Учитывая, что при выполнении ТО и ремонта автомобилей до 45% работ выполняется снизу, АТО оснащаются осмотровым и подъемно-транспортным оборудованием (рис. 5.1).

Как показывают исследования объем работ по ТО-1 и ТО-2 грузового автомобиля среднего класса на различных уровнях разделяется следующим образом: 40…50% снизу, 10…20% сбоку и 40…45% сверху. Поэтому рабочие посты ТО и ТР должны быть оборудованы осмотровыми устройствами, обеспечивающими обслуживание автомобиля со всех сторон и способствующими повышению производительности, качеству и безопасности работ.
Характер работ при ТО и ТР вынуждает значительную часть времени работать только стоя. Рациональной считается работа сидя, если прилагаемые физические усилия не превышают 50Н, если же они достигают 200Н и более, наиболее рациональной является работа стоя.
Поэтому одним из основных требований, предъявляемых к осмотровому оборудованию, является обеспечение рациональных условий производства работ около автомобиля стоя сверху, сбоку и снизу.
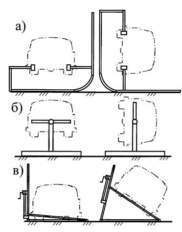
Осмотровое оборудование по расположению рабочих мест относительно обслуживаемого автомобиля разделяется на группы: осмотровые канавы, подъемники, опрокидыватели, эстакады и др.
Подъемно-транспортное оборудование включает оборудование для подъема и перемещения агрегатов, узлов и механизмов автомобиля: передвижные краны, электротельферы, кран-балки, грузовые тележки и конвейеры.
Осмотровое оборудование. Наиболее простыми и дешевыми устройствами являются осмотровые канавы, которыми оборудуются проездные и тупиковые посты. Они подразделяются на широкие и узкие, причем конструктивно широкие делятся на межколейные и боковые, а широкие – на канавы с вывешиванием колес и колейным мостом (рис. 5.2).

Наибольшее распространение получили межколейные узкие канавы (рис. 5.3). Их размеры определяются типом подвижного состава и применяемым технологическим оборудованием. Длина канавы должна быть на 0,5…0,8 м больше длины устанавливаемых на нее автомобилей, кроме канав предназначенных для обслуживания двигателей. Глубина должна быть 1,4 …1,5 м для легковых автомобилей, 1,2…1,3 м для грузовых и автобусов и 0,4…0,6 м для внедорожных самосвалов. Лестничный выход из канавы необходимо располагать за пределами ее рабочей зоны со стороны противоположной заезду автомобиля. Если выход один, то канаву оборудуют скобами (металлической лестницей), закрепленными в ее стенах, для запасного выхода. Стены канавы должны облицовываться керамической плиткой светлых тонов. Если пол канавы оборудован трапом, то он должен иметь уклон 2% в сторону трапа. На пол устанавливаются прочные деревянные решетки, не препятствующие использованию технологического оборудования. Для безопасного заезда и съезда автомобиля, канаву с боков обрамляют направляющими ребордами, а со стороны заезда – отбойником. Реборду и отбойник изготавливают металлическими или железобетонными с высотой примерно 0,15 м. Тупиковые осмотровые канавы дополнительно должны иметь стационарные упоры для колес автомобиля.

В местах перехода осмотровые канавы должны иметь съемные переходные мостики шириной не менее 0,8 м. Параллельные канавы могут соединяться открытой траншеей или тоннелем. Их ширина должны быть 1…2 м и глубина – до 2 метров.
Широкая канава с колейным мостиком имеет ширину, превышающую габаритную ширину автомобиля, с двумя металлическими или железобетонными узкими мостиками, расстояние между осями которых равно колее автомобиля. Длина широкой канавы делается на 1,0…1,2 м длиннее обслуживаемого автомобиля, ширина — на 1,4…3,0 м. Для работы сбоку предусматриваются съемные трапы.
Широкие канавы с вывешиванием колес (рис. 5.4) имеют ширину, превосходящую габаритную ширину автомобиля. Автомобиль перемещается по канаве, опираясь передними и задними мостами на опоры тележек, катящихся по рельсовому пути, проложенному посередине канавы. Колеса вывешиваются во время въезда автомобиля на канаву.

Боковые стены канавы оборудуются светильниками и нишами для инструмента. Для питания светильников необходимо использовать напряжение до 42 В. Питание напряжением 127-220 В допускается только при соблюдении ряда правил: вся проводка должна быть внутренней, имеющей надежную электро – и гидроизоляцию; осветительная аппаратура и выключатели должны иметь электро- и гидроизоляцию; светильники должны быть закрыты стеклом или ограждены защитной решеткой; металлический корпус светильника необходимо заземлить. Если используются переносные светильники, то необходимо использовать напряжение не свыше 42 В.
При необходимости канавы оборудуются подъемниками, воронками для слива отработавшего масла и приспособлениями для заправки маслом, смазками, водой и воздухом.
Использование канав объясняется некоторыми их существенными преимуществами в сравнении с напольными подъемниками:
— осмотровые канавы универсальны; на них можно обслуживать практически любые марки автомобилей;
— осмотровые канавы обеспечивают более широкий фронт работ при обслуживании одного автомобиля так как операции можно выполнять одновременно сверху, сбоку и снизу, чего нельзя организовать на обычных подъемниках без балконов;
— канавы не требуют дополнительных расходов на электроэнергию (кроме освещения и подачи сжатого воздуха для силовых установок);
— осмотровые канавы практически не требуют обслуживания и ремонта, или эти затраты не велики, тогда как подъемники нуждаются в постоянном техническом обслуживании и ремонте с соответствующими затратами времени, материалов и средств;
— канавы не требуют высоких потолков зданий, как это необходимо при работе на напольных подъемниках, поднимающих автомобиль на высоту 1600…1800 мм;
— осмотровые канавы не лимитированы грузоподъемностью; в случае необходимости на них могут обслуживаться автомобили с грузом;
— не требуются затраты времени на поднимание и опускание автомобиля;
— удобство расположения емкостей для централизованной подачи масел и смазок, а также инструмента и запасных частей в специализированных нишах.
Несмотря на простоту обустройства канав, дешевизну их создания и эксплуатации, они имеют и определенные недостатки:
— осмотровые канавы не обеспечивают в полной мере свободный доступ ко всем узлам и агрегатам автомобиля, так как ограничивают свободу действий рабочих;
— рабочие вынуждены многократно за смену спускаться в канаву и подниматься из нее за инструментом, деталями и материалом что занимает значительное время, отрицательно влияет на работоспособность рабочих и, в конечном итоге снижает производительность труда;
— фиксированная глубина канавы и ограниченная ее ширина, недостаточная освещенность и вентиляция, скопление пыли, грязи, масел, обтирочных материалов — все это ухудшает условия труда рабочих и также снижает производительность труда, не отвечает санитарно-гигиеническим нормам, является одной из причин травматизма; кроме того, при отсутствии на канаве автомобилей не исключается также падение в нее человека;
— осмотровые канавы могут быть применены только на первых этажах зданий, не имеющих подвалов;
— на канавах усложняется, в случае необходимости, изменение технологического маршрута ТО и ТР;
— поддержание канав в постоянной чистоте затруднительно и требует дополнительного вспомогательного персонала; требуется также поддержание в исправном состоянии лестниц, ограждений траншей и вентиляции канав.
Эти недостатки устраняются путем применения эстакад и подъемников. Эстакады представляют из себя колейный мост, расположенный на высоте 0,7…1,4 метра от уровня пола (рис. 5.5). Для въезда и съезда автомобиля предусматривают одну (для тупиковых эстакад) или две (для проездных) рампы, имеющими уклон 20…25°. Для повышения функциональных возможностей эстакад, они могут дополнительно оборудоваться неглубокой осмотровой канавой.

а) б)
Подъемно-транспортные устройства. В настоящее время при проведении ТО и ремонта автомобилей используется большая гамма подъемников, которые классифицируются по способу установки, по типу механизма подъемника и приводу, по мосту установки, по количеству стоек и по конструкции опорной рамы (рис. 5.6).

Простейшими подъемными механизмами являются механические, гидравлические и пневматические домкраты. Механические домкраты могут быть винтового или реечного типов. Винтовые домкраты получили широкое распространение, так как обладают высокой надежностью и грузоподъемностью (от 1 до 20 тонн), имеют свойство самоторможения, которое обеспечивается выбором такого угла подъема винтовой резьбы, чтобы он был меньше угла трения в винтовой паре.
Для вывешивания отдельных осей автомобиля на небольшую высоту применяются п н е в м а т и ч е с к и е, п н е в м о г и д р а в л и ч е с к и е и г и д р а в л и ч е с к и е д о м к р а т ы (рис. 5.7). Они устанавливаются на тележке, передвигаемой вручную.

Для выполнения монтажно-демонтажных работ и транспортировки агрегатов используется подъемно-транспортное оборудование, которое подразделяется на монорельсы с тельферами, кран-балки, передвижные краны, грузовые тележки, электрокары, передвижные подкатные подъемники.
Кран-балка – специализированное крановое оборудование мостового типа, предназначенное для проведения различных погрузочно-разгрузочных и подъемно-транспортных работ в зонах и цехах АТО в трех взаимно перпендикулярных направления: при подъеме и опускании груза, перемещении его по горизонтали вдоль и поперек помещения. Их используют для транспортировки агрегатов из зон ТО или ремонта в ремонтные участки и наоборот, а также при монтаже и демонтаже габаритных и тяжелых автомобильных агрегатов: двигатель, радиатор, мосты и т.п.
В зависимости от особенностей конструкции, кран-балки классифицируются на опорные и подвесные. Конструктивно опорная кран-балка (рис. 5.8) состоит из пролетной (несущей) балки, перемещающейся по ней электрической тали (тельфера), пульта управления и некоторого вспомогательного оборудования (ограничителя грузоподъемности, различных захватов для подъема груза и т.д.).

Опорная кран-балка приводится в действие от ручного или электрического привода. Управление кран-балкой может осуществляться как непосредственно из кабины, так и снаружи, при помощи специальной кнопочной станции.
Подвесная кран-балка (рис. 5.9) представляет собой кран мостового типа, с пролетными балками, опирающимися на подкрановые рельсы – двутавры, подъемного механизма (тали или тельфера), ходовых кареток, пульта управления и вспомогательного оборудования

Двутавры, в свою очередь, монтируются в потолочные перекрытия помещений, в которых проводятся подъемно-транспортные или погрузочно-разгрузочные работы. Управление кран-балкой осуществляется, как правило, посредством кнопочной станции, снизу.
Грузовые тележки служат для горизонтального перемещения различных грузов внутри производственного перемещения. Часто они дополнительно комплектуются приспособлениями для снятия и установки агрегатов: рессор, карданных валов, мостов, коробок передач, колес и т.д.
Монтаж и демонтаж агрегатов может осуществляться с помощью передвижных кранов с механическим или гидравлическим приводом. Их грузоподъемность может составлять от 500 до 2500 кг в зависимости от вылета стрелы. Передвижные краны используют для перемещения на небольшие расстояния в случае отсутствия монорельсовых подъемных устройств или кран-балок.
Передвижные подкатные подъемники. Такие подъемники служат для снятия и транспортировки агрегатов и находят все большее применение на АТО и организациях автосервиса. Они подразделяются на пантографные (ножничные) (рис. 5.10, а) и гидравлические подъемники (рис. 5.10, б).

Подъемники служат для подъема автомобилей (автопоездов) над уровнем пола на требуемую высоту для удобства обслуживания или ремонта.
По типу привода автомобильные подъемники бывают электромеханические и электрогидравлические. Электромеханические подъемники проще использовать, а электрогидравлические являются более безопасными и долговечными, имеют максимальную скорость опускания.
Более широкое распространение получили электромеханические подъемники, которые выпускаются 1, 2, 4 и 6-и стоечными грузоподъемностью от 2 до 14 тонн. Электропривод подъемника может осуществляться от одного или нескольких электродвигателей. На подъемниках используются различные типы приводных механизмов: винтовые, рычажно-шарнирные, тросовые, карданные, цепные.
Одностоечный подъемник – универсальное мобильное средство подъема (рис. 5.11) .

Существуют стационарные и передвижные одностоечные подъемники. Стационарные подъемники могут поднимать массу до 2 т, а передвижные — до 250 кг. Одновременно, синхронно, можно использовать до четырех мобильных подъемников. При этом эффективность их работы увеличиться. Подъем автомобиля осуществляется за колеса или за пороги. Автомобиль поднимается либо с одной, либо с двух сторон (это зависит от количества подъемников). Одностоечные подъемники находят применение на мойках и для обработки днища, а также для антикоррозийной обработки кузова и на пунктах шиномонтажа.
Для обслуживания и ремонта легковых автомобилей наиболее широкое распространение получили двухстоечные электромеханические напольные подъемники грузоподъемностью 2…3 тонны.
Такой подъемник состоит из двух коробчатых стоек 1 (рис. 5.12) и поперечины 7. В каждой стойке размещен ходовой винт, по которому перемещается грузоподъемная гайка. К гайке прикреплена каретка 2 с шарнирно установленными раздвижными подхватами 3. Грузоподъемные (ходовые) винты приводятся в действие электродвигателем 5 через редуктор 6, установленный на одной из стоек. Вращение на другой винт передается с помощью цепной передачи, установленной внутри поперечины 7.

Управление подъемником осуществляется при помощи кнопочного выключателя 4. Высота подъема составляет 1,8…2,0 м., время подъема 45…60 с. Подъемник устанавливается без специального фундамента на ровную поверхность и крепится к полу анкерными болтами.
Принцип работы подъемника заключается в следующем. Крутящий момент от мотор-редуктора 6 (рис. 5.13) передается через коническую передачу 5 на первый грузоподъемный винт 4. При вращении винта, гайка поднимается вверх (подъем автомобиля) или опускается вниз (опускание автомобиля) в зависимости от направления вращения ротора электродвигателя. Крутящий момент на второй винт 8 передается с помощью цепной передачи (2, 10, 11). Для обеспечения синхронного движения грузоподъемных гаек 3, 9 в одну сторону, винт 4 имеет правую, а винт 8 — левую нарезку. Сами винты вращаются на радиальных 7 и опорных 1 подшипниках. Концевые выключатели отключают электродвигатель при достижении каретками крайних нижних и верхних положений.

Четырехстоечный платформенный подъемник (рис. 5.14, а) обычно используют для обслуживания грузовых автомобилей, а также для контроля углов установки колес и их регулировки (развал-схождение). Подъемник имеет 4 стойки, которые попарно связаны трапами (двумя продольными платформами). Привод у четырехстоечных подъемников может быть гидравлический или электромеханический.
При работе со стендами “развал-схождение” платформы четырехстоечных подъемников оборудованы: в передней части — нишами под поворотные круги (платформы), а в задней части — скользящими платформами под задние колеса. Траверсы устанавливаются между платформами. Они могут перемещаться на роликовых опорах вдоль платформ.


Четырехстоечные подъемники позволяют обслуживать автомобили с длинной базой, имеют относительно невысокую цену, отличаются простотой и надежностью конструкции. К их недостаткам можно отнести: большие габаритные размеры, и соответственно потери полезной площади, наличие неудобной для механика перемычки между колоннами.
Платформенные подъемники могут быть и двухстоечными гидравлическими (рис. 5.14, б). При этом подъемный механизм некоторых фирм изготовителей, например, МАХА, выполнен не в виде цилиндра, а в виде квадрата, что не допускает проворот подъемного механизма вокруг своей оси.
Для вывешивания грузовых автомобилей и автобусов предназначены электромеханические многостоечные подъемники с передвижными стойками (рис. 5.15). Каждая стойка имеет отдельный электропривод, действующий с общего пульта управления.

Применяются, как правило, 4 (рис. 5.16), 6 или 8 передвижных стоек, в зависимости от длины вывешиваемого автотранспортного средства (максимальная общая грузоподъемность). За счет этого достигается общая грузоподъемность от 12 до 80 тонн. Основание стойки сконструировано с учетом опоры на три точки, что обеспечивает максимальную устойчивость и минимальное давление на пол или почву, причем давление распределяется на все три точки равномерно.

Степень защиты передвижных стоек может обеспечивать возможность работать вне помещения и использовать их при выполнении моечных работ. Встроенный в механизм управления перемещения подъемника стояночный тормоз предотвращает его непреднамеренное перемещение.
Стойка имеет простую конструкцию, легко передвигается и управляется одним рабочим. Компактность конструкции обеспечивает хороший обзор и видимость, под автобусом или автомобилем и между стойками можно свободно перемещаться, раскладывать инструменты, возить тележки, размещать необходимое оборудование. Все стойки (4, 6 или 8) связаны между собой и могут управляться и контролироваться от одной стойки, действия всех стоек синхронны. При каких-либо неполадках, отмеченных контрольным оборудованием, происходит автоматическое стопорение или отключение системы. Система безопасности отличается большой надежностью: кроме автоматического отключения имеется независимая система замыкания с помощью клина, блокирующего подхвата и предохраняющего автомобиль или автобус от падения или спуска.
Передвижные подъемные стойки не требуют специального оборудования, для их размещения необходимы лишь ровная поверхность и источник питания (энергии). Стойки-подъемники подводятся к колесам автомобиля, подхваты надежно фиксируют колеса, и осуществляется подъем. Под вывешенное таким образом автотранспортное средство могут быть подведены поддерживающие стойки; подъемники освобождаются. С автомобиля или автобуса на стойках-подпорках могут быть демонтированы колеса, подвески, рессоры, тормоза, двигатель, коробка передач. Все это, за исключением демонтажа колес, можно сделать и на подъемных стойках, в комплект к которым могут входить различные стойки-подпорки, подъемные, монтажные, передвижные столики и пр.
Электрогидравлические плунжерные подъемники предназначены для технического обслуживания и ремонта легковых и грузовых автомобилей. В зависимости от количества плунжеров они бывают: одноплунжерными, двухплунжерными и четырехплунжерными. Плунжерные подъёмники бывают также платформенные и с «лапами». Существуют подъёмники напольного монтажа. Наиболее распространены плунжерные подъемники с заглублением в пол, что позволяет более рационально использовать рабочие площади. Такие подъемники имеют один электродвигатель с гидравлическим насосом и два гидравлических цилиндра (как правило). Для передачи гидравлической жидкости применяются гидравлические шланги. Для синхронизации высоты подъема используют стальные тросы. Гидравлический шланг и стальные тросы могут быть протянуты по полу (используется специальный защитный металлический профиль), или в перекладине над стойками. В последнем случае пол остается ровным. Это облегчает въезд и выезд автомобиля, а также повышает удобство работы.
Несущие элементы размещены на верхних торцах поршней (плунжеров) гидравлических цилиндров, установленных вертикально. Такая конструктивная схема обеспечивает возможность проведения работ по обслуживанию автомобиля с беспрепятственным подходом к нему со всех сторон.
Гидравлические подъемники имеют ограниченное применение, вследствие подтекания масла и дополнительных затрат на уборку. Однако они могут применяться в тех случаях, когда в зоне обслуживания имеется влага, например, при мойке автомобиля снизу. Одностоечные гидравлические подъемники обеспечивают хороший доступ к днищу и осям автомобиля (рис. 5.17).

Электрогидравлические подъемники обладают более высокой скоростью подъема – до 2 м/мин и имеют высоту подъема до 1,5…2 метров. Стационарные подъемники выпускаются одно-, двух – и многоплунжерными грузоподъемностью 2, 4, 6, 8, 12, 16 и 20 тонн.
У пневматических подъемников основным исполнительным механизмом является пневматический цилиндр с двухходовым поршнем. С помощью золотникового устройства сжатый воздух поочередно подается в полости пневмоцилиндра, обеспечивая подъем или опускания груза. Подача сжатого воздуха к золотниковому устройству осуществляется под давлением от 3 до 6 МПа.
Большее распространение для обслуживания ремонта легковых автомобилей и микроавтобусов получили пантографные (ножничные) подъемники (рис. 5.18). Благодаря отсутствию поперечных балок обеспечивается свободный доступ к автомобилю снизу. В сложенном состоянии такие подъемники имеют высоту 120 мм, что позволяет добиться максимального использования площадей и использования их для обслуживания автомобилей с очень низкой базой.
Преимуществом этих подъемников является возможность установки их в уровень с полом. За счет конструкции, которая позволяет находиться в сложенном положении, ножничные подъемники занимают мало места.

Подъемники оборудуются механической блокировкой при подъеме на рабочую высоту предохранительными клапанами против перегрузки или утечки из гидравлической системы и устройством блокировки опускания подъемника при наличии препятствия под платформами.
Подъемники имеют гидравлический привод, что обеспечивает бесшумность, плавность хода и долговечность работы. Некоторые модели ножничных подъемников имеют люфт-детекторы. Это позволяет проводить диагностику и ремонт подвески, а также ремонт рулевого управления. Существуют портативные версии ножничных гидравлических подъемников. Они применяются для оперативного техобслуживания вне помещений. Эти подъемники могут иметь чисто гидравлический механизм подъема, не требующий электричества.
Автомобильные ножничные подъемники способны поднимать вес до 5 тонн. Их основным недостатком является высокая стоимость.
При мойке днища автомобиля перед ТО или ремонтом, сварочных работах, нанесении антикоррозионных покрытий со стороны днища применяют о п р о к и д ы в а т е л и (рис. 5.19). Опрокидыватель состоит из стойки 5, рамы 9, двух захватов 6. Стойка смонтирована на шарнирной опоре, которая обеспечивает передвижение стойки в поперечном направлении. В стойке размещены привод каретки (винт–гайка) и каретка 7. На верхнем торце стойки установлен червячный редуктор 2 с электродвигателем 1. Выходной вал редуктора соединен упругой муфтой с грузонесущим винтом. Каретка висит на грузонесущей гайке, зафиксированной от проворачивания. Рама, имеющая в плане Г-образную форму, обеспечивающую хороший доступ к наклоненному автомобилю со стороны днища, шарнирно закреплена на фундаменте. Поперечина рамы шарнирно соединена с кареткой стойки. На раме установлена передвижная площадка 8, которая фиксируется пальцем и имеет заездные трапы. К раме опрокидывателя шарнирно крепятся заездные трапы. Имеется страхующее устройство 3. Пульт управления 4 установлен на стойке в отдельном корпусе. Предусмотрен переставной башмак 10 для ограничения движения автомобиля при заезде.

Опрокидыватели могут иметь различные конструктивные схемы (рис. 5.20), однако все они должны обеспечивать надежную фиксацию автомобиля при любых допустимых углах опрокидывания.


Перед началом опрокидывания снимают аккумуляторную батарею, герметизируют отверстия главного тормозного цилиндра и главного цилиндра привода сцепления (при гидроприводе). Чтобы не происходило разлива топлива и моторного масла, опрокидывание необходимо проводить в сторону, противоположную расположению маслозаливной горловины двигателя и топливного бака.
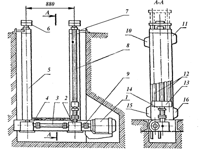
Подъемно-транспортирующее оборудование. Для вывешивания отдельной оси или колес грузового автомобиля или автобуса на осмотровой канаве используются двухстоечные канавные электромеханические подъемники (рис. 5.21).

Подъем автомобиля осуществляется верхними траверсами, упираемыми в мост или раму автомобиля. При подъеме крутящий момент от электродвигателя передается на ходовые винты 8 через два червячных редуктора 2 и 4, связанных между собой карданной передачей 3. Вращение ходовых винтов приводит к линейному перемещению нижней траверсы 13 с запрессованной грузоподъемной гайкой. Верхняя траверса 6 связана с нижней через две штанги 12 и все эти элементы перемещаются как одно целое. Используемые в конструкции стенда червячные редукторы и упорная трапециидальная резьба ходовых винтов обладают свойством самоторможения, поэтому дополнительных стопорящих устройств, не допускающих самопроизвольное опускание вывешенного автомобиля, не требуется.
Более свершенными являются передвижные канавные подъемники с верхним расположением роликов (рис. 5.22).

Такой подъемник вручную перемещается с помощью роликов 2 на игольчатых подшипниках по рельсам 5, расположенным в верхней части осмотровой канавы. Подъем и опускание вывешенного автомобиля осуществляется гидравлическим узлом подъема 1, состоящем из приводной станции и гидравлических штоков – центрального 4 и боковых 3.
Конвейеры. Конвейеры применяются для передвижения легковых и грузовых автомобилей и автобусов при организации их обслуживания на потоке. Целесообразность применения конвейеров на поточных линиях обслуживания автомобилей определяется рядом причин:
— исключается загрязнение отработавшими газами производственных помещений, которая возникает при движении транспорта своим ходом;
— повышается производительность линии за счет ритмичного перемещения автомобилей с одного поста на другой, что невозможно выдержать при движении машин самоходом.
— на моечных установках производительность растает за счет минимизации расстояния между автомобилями, установленными на конвейеры;
— перемещение автомобилей своим ходом в зоне мойки не обеспечивает высокого качества работ из-за неравномерного движения автомобиля мимо щеток или моющих коллекторов струйных установок, поломок моечных установок вследствие резкого наезда автомобилей на щетки.
В настоящее время используется большое количество разнообразных конструктивных видов конвейеров, которые различаются:
— количеством ветвей тягового рабочего органа; одна или две;
— конструктивным исполнением самого тягового рабочего органа: цепной, тросовый, штанговый, ленточный;
— способом крепления или установки автомобиля на тяговом рабочем органе: свободнонесущие, с захватом за переднюю ось, с захватом за заднюю ось, с захватом за колесо ведущей оси, с захватом за сцепное устройство автомобиля.
В качестве тяговых рабочих органов наибольшее распространение получили цепи и тросы. К достоинствам первых следует отнести удобство крепления на них толкающих устройств, большую надежность передачи движущей силы зацеплением и значительно меньшую вытягиваемость. Благодаря этому цепи в конвейеростроении получили большее применение, чем тросы. Тем не мене при конструктивной проработке новых конвейеров следует учитывать такие преимущества тросов, как меньшую массу и стоимость при равной с цепями прочности, меньшую чувствительность к воздействию абразивных частиц и простоту в обслуживании и эксплуатации.
В конвейерах при передвижении автомобилей, как правило, применяют шарнирные пластинчатые втулочно-роликовые цепи, при выборе которых учитывают два основных требования — прочность и долговечность. При вытягивании звеньев и износе шарниров, если изменение шага цепи превосходит известные пределы, нарушается работоспособность конвейера
Широкое распространение в настоящее время получили более простые по конструкции и экономичные по эксплуатации конвейеры с одной тяговой ветвью.
По характеру своего движения конвейеры подразделяют на непрерывные и периодические действия (рис. 5.23). Первые применяются при ежедневном обслуживании, а вторые – на линиях ТО-1и ТО-2.

По способу передачи движения конвейеры подразделяются на несущие, толкающие или тянущие. Толкающие конвейеры могут перемещать автомобиль за задний мост, передний мост или за заднее колесо. Последние получили достаточно большое распространение в связи с их высокой надежностью и простотой.
Любой конвейер содержит три основных узла: приводную и натяжную станции (редко встречаются конструкции, у которых функции приводной и натяжной станций совмещаются), тяговый рабочий орган. На рис. 5.24 показана схема толкающего конвейера. Они состоят из приводной 1 и натяжной 2 станции, тяговой цепи 3 и направляющего пути 5. Привод конвейера осуществляется натяжной станцией, в состав которой входят тяговый электродвигатель, редуктор, клиноременная передача и ведущая звездочка 6. Натяжная станция 4 используется для натяжения цепи.

Цепь несет толкающие каретки, которые движутся по направляющим путям и, воздействуя на мосты или колеса автомобиля, заставляют его перемещаться с поста на пост. Такие конвейеры обычно периодического действия и применяются для линий ТО. Их скорость перемещения составляет до 10 м/мин. Несущие конвейеры применяются на поточных линиях ЕО. Они бывают одно- или двухветвевого исполнения. В качестве рабочего органа в них используется бесконечная цепная лента, на которую колесами устанавливается автомобиль.
Тяговым органом у тянущих конвейеров является бесконечная цепь или трос, который крепится к буксирному крюку автомобиля. Достоинством таких конвейеров является отсутствие весовых нагрузок от автомобилей на элементы их конструкции. Поэтому они обладают малой металлоемкостью, простым устройством и высокой надежностью.
Приводная станция, служащая для приведения в движение тягового органа, состоит из электродвигателя, клиноременной или цепной передачи и редуктора, приводном валу которого установлена ведущая звездочка. Приводная станция размещается в замыкающей части конвейера (верхняя ветвь конвейера всегда является тяговой, а нижняя — свободной) и может находиться как справа, так и слева по отношению к продольной оси конвейера.
Натяжная станция (натяжное устройство) предназначено для регулировки натяжения тягового органа. Натяжение осуществляется противовесом или винтовым механизмом. Натяжное устройство размещается в головной части конвейера.
Несущая конвейера представляет собой бесконечные (одну или две) цепи или ленты, движущиеся по направляющим. В зависимости от конструкции конвейера автомобиль на поточную линию может устанавливаться по-разному: колесами непосредственно на ленту; колесами на специальные тележки, закрепленные в звеньях цепи; вывешиваться, опираясь мостами на цепи; вывешиваться, опираясь мостами на специальные тележки или упоры, закрепленные в звеньях цепи.
Существуют конструкции конвейеров с продольным и с поперечным расположением автомобилей; последние являются более сложными по конструкции, дорогостоящими в изготовлении и применяются в АТП, где планировочные решения не позволяют установить конвейер с продольным размещением автомобилей.
Цепные несущие конвейеры несколько надежнее в работе по сравнению с другими конструкциями конвейеров, но имеют большую металлоемкость.
Толкающий конвейер перемещает автомобиль путем упора толкающего устройства в передний, задний мосты или колеса. В качестве тягового органа в толкающих конвейерах используют цепи, тросы или жесткие штанги с гибкими элементами на концах. Штанги используются в конвейерах периодического действия с возвратно-поступательным характером движения. Цепи применяют в конвейерах как непрерывного, так и периодического действия. Тяговый орган толкающего конвейера состоит из одной ветви цепи (или троса), в которую вмонтированы упоры (толкатели) на расстоянии, зависящем от базы автомобиля. Толкатели могут устанавливаться на цепи шарнирно и поворачиваться вниз при прохождении над ним колеса или наиболее низко расположенной части автомобиля с последующим возвратом в исходное положение для упора. Имеются конструкции, в которых толкатели закреплены на тяговом органе жестко и выходят на рабочую поверхность из- под специального щитка, исключающего толчок при наезде колеса.
Тянущий конвейер представляет собой одну ветвь цепи или троса, расположенную снизу или сверху линии обслуживания. Автомобиль присоединяется к тяговой цепи специальным захватом за передний буксирный крюк и перемещается, перекатываясь на колесах. В конце поточной линии захват отсоединяется от автомобиля.
Конвейеры этого типа с нижним расположением тягового органа имеют ограниченное применение из-за дополнительных работ по прицепке и переносу освободившихся захватов на начало линии. Конвейеры с верхним расположением цепи или троса более удобны в работе, так как в данном случае переноса освободившихся захватов не требуется. Эти конвейеры мог устанавливаться на межэтажных перекрытиях и потолках в одноэтажных зданиях.
С целью снижения затрат времени труда и средств на строительно-монтажные работы, повышение мобильности при реконструкции зон ТО вместо поточных линий канавного типа могут использоваться напольные поточные линии. Это позволяет приблизиться к цеховым условиям труда и в 3…4 раза сократить затраты на строительно-монтажные работы.
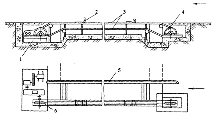
Одним из примеров является напольно-поточная линия ТО-2 на 4 поста разработанная НПО «Транстехника» Республики Беларусь со штанговым конвейером ОН-267.
На первом посту установлен гидравлический подъемник ПТО-58, на котором вывешивается автомобиль или автопоезд до отрыва колес от пола. На этом посту проводятся работы по обслуживанию колесных тормозных механизмов, электрооборудования.
На втором посту установлен электромеханический трапный подъемник ПТО-53, на котором автомобиль или автопоезд вывешивается полностью для выполнения крепежных работ снизу.
На третьем посту установлен гидравлический подъемник ПТО-58, на котором автомобиль или автопоезд вывешивается полностью для выполнения смазочных работ.
На четвертом посту выполняются работы, не связанные с вывешиванием автомобиля (автопоезда). Гидроцилиндры на этом посту снимают переднюю ось автомобиля с грузонесущего конвейера.
На первый пост автомобиль заезжает своим ходом. При вывешивании автомобиля на втором и третьем постах конвейер возвращается в исходное положение. С четвертого поста автомобиль выталкивается за пределы помещения с помощью толкателя, упирающегося в балку заднего моста автомобиля, затем процесс повторяется.
Дополнительно см. учебные фильмы
Гидраввличекий ножничный подъемник:
https://www.youtube.com/watch?v=VHpH1qx4XUo
Двухстоечный гидравлический подъемник шахтного типа и другие подъемники:
https://www.youtube.com/watch?v=49-WvNmfKD8
Канавный подъемник:
https://www.youtube.com/watch?v=nWowXtqzGH0
https://www.youtube.com/watch?v=P8mt5I84zJo
Гаражный подъемник-домкрат:
https://www.youtube.com/watch?v=lQqdL-p9aDI
Техника безопасности при работе с подъемно-транспортными устройствами. К подъемно-транспортным устройствам предъявляется ряд требований, так как от их технического состояния зависит безопасность работы исполнителей работ по ТО и ремонту. Ручные, рычажно-реечные домкраты должны иметь исправные устройства, исключающие самопроизвольное опускание груза при снятии усилия с рычага или рукоятки, снабжаться стопорами, исключающими выход в крайнем верхнем положении. Подъемники с электроприводами должны иметь исправные устройства автоматического выключения электродвигателей в крайних (верхнем и нижнем) положениях. Гидро- и пневмоподъемники не должны иметь утечек жидкости или воздуха из рабочих цилиндров во время перемещения грузов. Обратные клапаны и другие устройства подъемников должны обеспечивать плавное опускание штока или его остановку в случае повреждения подводящих или отводящих трубопроводов. Испытание домкратов и подъемников должно осуществляться один раз в год статической нагрузкой больше предельной на 10% (по паспорту) в течение 10 минут при нахождении штока в крайнем верхнем положении. У гидравлических домкратов и подъемников падение давления к концу испытания не превышать 5%. Результаты испытаний заносятся в журнал. При обслуживании автомобиля на подъемнике, на его пульте управления должна вывешиваться табличка с надписью: «Не трогать – под автомобилем работают люди!».
Для осуществления надзора за безопасной эксплуатацией всех используемых в АТО грузоподъемных механизмов приказом назначается инженерно-технический работник после проверки у него знаний «Правил устройства и безопасной эксплуатации грузоподъемных кранов». Он должен иметь соответствующее удостоверение и периодически проходить проверку один раз в три года. Грузоподъемные машины, находящиеся в работе, должны подвергаться периодическому техническому освидетельствованию: полному – не реже одного раза в три года, за исключением редко работающих машин, и частичному – не реже одного раза в 12 месяцев. Редко используемые грузоподъемные машины подвергаются полному техническому освидетельствованию не реже одного раза в пять лет. При полном техническом освидетельствовании осуществляется осмотр, статическое и динамическое испытания. При частичном – только осмотр. В целом монтаж, эксплуатация и проверка грузоподъемных механизмов осуществляется в соответствии с «Правилами устройства и безопасной эксплуатации грузоподъемных кранов» (Госпроматомнадзор, Республика Беларусь 22.08.94) и «Правилами охраны труда на автомобильном транспорте».
Дополнительно см. учебный фильм
Канава или подъемник (грузовые):