Основным неудобством пpи использовании механических ступенчатых коробок передач является то, что водителю для переключения передач постоянно приходится нажимать на педаль сцепления и перемещать рычаг переключения передач. Это требует от него затрат значительных физических сил, особенно в условиях городского движения или и при управлении автомобилем, работающим с частыми остановками, для устранения таких неудобств и облегчения работы водителя легкового автомобиля все более широкое применение получают гидромеханические коробки передач. Они выполняют одновременно функции сцепления и коробки передач с автоматическим или полуавтоматическим переключением передач.
Применение гидромеханической передачи на автомобиле позволяет получить следующие преимущества:
1. Обеспечение автоматизации переключения передач и отсутствие необходимости иметь педаль сцепления.
2. Повышение проходимости автомобиля в условиях бездорожья за счет отсутствия разрыва потока мощности при переключении передач.
3. Повышение долговечности двигателя и агрегатов трансмиссии за счет способности гидротрансформатора снижать динамические нагрузки.
В то же время как недостаток необходимо отметить потерю мощности и повышение расхода топлива за счет более низкого КПД ГМП по сравнению с автомобилем, имеющим механическую коробку передач.
Автоматические коробки передач подразделяются на:
— гидромеханические, переключение передач в которых осуществляется с помощью механических регуляторов;
— электронно-гидромеханические переключение передач в которых осуществляется с помощью электромагнитных клапанов и включающие электронную систему управления;
— вариаторные клиноременные передачи, переключение передач в которых осуществляется с помощью механических регуляторов;
— электронно- вариаторные клиноременные передачи, переключение передач в которых осуществляется с помощью электромагнитных клапанов и включающие электронную систему управления.
Гидромеханическая коробка передач состоит из гидротрансформатора и механической коробки передач. На легковых автомобилях наибольшее распространение получили гидромеханические коробки с планетарными механическими коробками. Их преимущества: компактность конструкции, меньшая металлоемкость и шумность, больший срок службы. К недостаткам относятся сложность, высокая стоимость, пониженный КПД. Переключение передач в этих коробках производится при помощи фрикционных муфт и ленточных тормозных механизмов. При этом при включении одной передачи часть фрикционных муфт и ленточных тормозных механизмов пробуксовывает, что также снижает их КПД.
Гидротрансформатор (рис. 11.70) представляет собой гидравлический механизм, который размещен между двигателем и механической коробкой передач. Он состоит из трех колес с лопатками: насосного (ведущего), турбинного (ведомого) и реактора. Насосное колесо 3 закреплено на маховике 1 двигателя и образует корпус гидротрансформатора, внутри которого размещены турбинное колесо 2, соединенное с первичным валом 5 коробки передач, и реактор 4, установленный на роликовой муфте 6 свободного хода. Внутренняя полость гидротрансформатора на 3/4 своего объема заполнена специальным маслом малой вязкости.

Каждое колесо имеет наружный и внутренний торцы, между которыми располагаются профилированные лопасти, образующие каналы для протока жидкости. Все колеса гидротрансформатора максимально приближены друг к другу, а вытеснению жидкости препятствуют специальные уплотнения.
При работающем двигателе насосное, колесо вращается вместе с маховиком двигателя. Масло под действием центробежной силы поступает к наружной части насосного колеса, воздействует на лопатки турбинного колеса и приводит его во вращение. Из турбинного колеса масло поступает в реактор, который обеспечивает плавный и безударный вход жидкости в насосное колесо. Это также колесо с лопатками, однако оно жестко прикреплено к корпусу и не вращается (заметим: до определенного времени). Реактор расположен на пути, по которому масло возвращается из турбины в насос. Лопатки реактора имеют особый профиль, а межлопаточные каналы постепенно сужаются. По этой причине скорость, с которой рабочая жидкость течет по каналам направляющего аппарата, постепенно увеличивается, а сама жидкость выбрасывается из реактора в сторону вращения насосного колеса, как бы подталкивая и подгоняя его. Отсюда сразу два следствия.
Первое — благодаря увеличению скорости циркуляции масла внутри гидротрансформатора при неизменном режиме работы насоса крутящий момент на выходном валу гидротрансформатора увеличивается.
Второе — при неизменном режиме работы насоса режим работы турбины изменяется автоматически и бесступенчато в зависимости от приложенного к валу турбины сопротивления. Допустим, автомобилю, который двигался по равнинному участку дороги, предстоит подъем в гору, при этом педаль акселератора находится в статическом положении. Нагрузка на ведущие колеса увеличивается, а автомобиль начинает терять скорость. Это приводит к уменьшению частоты вращения турбины. В свою очередь, уменьшается противодействие движению рабочей жидкости по кругу циркуляции внутри гидротрансформатора. В результате скорость циркуляции возрастает, что автоматически приводит к увеличению крутящего момента на валу турбинного колеса (аналогично переходу на низшую передачу в механических КПП) до тех пор, пока не наступит равновесие между ним и моментом сопротивления движению. По аналогичной схеме работает автоматическая трансмиссия и при старте с места.
Таким образом, масло циркулирует по замкнутому кругу и обеспечивается передача крутящего момента в гидротрансформаторе.
Жесткая связь при этом между двигателем и трансмиссией отсутствует. Это способствует обеспечению работы двигателя и остановке автомобиля с включенной передачей. Наличие такой связи устраняет вероятность того, что заглохнет двигатель, как по неопытности водителя, так и вследствие внезапного возрастания внешнего сопротивления, при котором может произойти полная остановка автомобиля.
Характерной особенностью гидротрансформатора является увеличение крутящего момента при его передаче от двигателя к первичному валу коробки передач. Наибольшее увеличение крутящего момента на турбинном колесе гидротрансформатора получается при трогании автомобиля с места, при этом коэффициент трансформации может составлять до 2,4 В этом случае реактор неподвижен, так как заторможен муфтой свободного хода. По мере разгона автомобиля увеличивается скорость вращения насосного и турбинного колес. При этом муфта свободного хода расклинивается и реактор начинает вращаться с увеличивающейся скоростью, оказывая все меньшее влияние на передаваемый крутящий момент. После достижения реактором максимальной скорости вращения гидротрансформатор перестает изменять крутящий момент и переходит на режим работы гидромуфты. Таким образом, происходит плавный разгон автомобиля и бесступенчатое изменение крутящего момента.
По такой же схеме работает гидромуфта, которая просто передает крутящий момент, не трансформируя его величину.
Передачу крутящего момента (мощности) посредством потока рабочей жидкости ATFв автоматической ГМП можно представить в виде трех фаз (рис. 11.71).

Когда автомобиль припаркован, турбинное колесо находится в неподвижном состоянии, однако внутреннее проскальзывание в гидротрансформаторе не мешает двигателю работать на холостом ходу. В этом случае крутящий момент трансформируется в максимально возможное число раз. Зато, когда достигнута необходимая скорость, надобность в преобразовании крутящего момента отпадает. Гидротрансформатор посредством автоматически действующей блокировки превращается в звено, практически жестко связывающее ведущий и ведомый валы. Такая блокировка исключает внутренние потери, увеличивает значение КПД передачи, уменьшает расход топлива в установившемся режиме движения, а при замедлении повышает эффективность торможения двигателем. Кстати, одновременно с целью снижения все тех же потерь реактор может освободиться и вращаться вместе с насосным и турбинным колесом.
КПД гидротрансформатора определяет экономичность его работы. Максимальное значение КПД гидротрансформатора может быть от 0,85 до 0,97, но обычно находится в диапазоне от 0,7 до 0,8. В комплексном гидротрансформаторе на режиме гидромуфты можно получить максимальное значение КПД до 0,97.
Поскольку гидродинамические передачи не пропускают крутильные колебания от двигателя в трансмиссию, повышается надежность и долговечность элементов трансмиссии, а также силового агрегата в целом. Лопастные колеса гидропередачи (насосное, турбинное, реакторное) практически не изнашиваются.
К сожалению, гидротрансформатор имеет малый диапазон передаточных чисел, не обеспечивает движения задним ходом, не разобщает двигатель от трансмиссии (необходима сложная система опорожнения проточных частей от рабочей жидкости). Поэтому за гидротрансформатором устанавливают специальную планетарную коробку передач, которая компенсирует указанные недостатки.
Муфта свободного хода передает крутящий момент только в одном направлении и свободно вращается в обратном направлении. Она может быть роликовой или зажимной.
В роликовой муфте свободного хода ролики размещены в полостях между внутренним и внешним кольцом (рис. 11.72, а). Они перемещаются в сужающиеся части полостей, когда муфта начинает вращаться в направлении, в котором происходит блокировка. В результате внутреннее и внешнее кольца не могут вращаться друг относительно друга. Пружины удерживают ролики в сужающихся частях полостей, обеспечивая блокировку.
Конструкция зажимной муфты свободного хода сложнее, чем у роликовой муфты, зато она обеспечивает передачу более высокого крутящего момента в механизме тех же размеров. Гантелеобразные кулачки размещены в пружинящем сепараторе между внутренним и внешним кольцом (рис.11.72, б). Сепаратор удерживает кулачки в определенном положении. В направлении свободного вращения муфты кулачки наклоняются и не препятствуют движению. Когда муфта начинает вращаться в противоположном направлении, кулачки поворачиваются вправо и блокируют движение.

Планетарная коробка передач включает в себя планетарные механизмы. В простейшем планетарном механизме (рис. 11.73) солнечная шестерня 6, закрепленная на ведущем валу 1, находится в зацеплении с шестернями-сателлитами 3, свободно установленными на своих осях. Оси сателлитов закреплены на водиле 4, жестко соединенном с ведомым валом 5, а сами сателлиты находятся и зацеплении с коронной шестерней 2, имеющей внутренние зубья.

Передача крутящего момента с ведущего вала 1 на ведомый вал 5 возможна только при заторможенной коронной шестерне 2 при помощи ленточного тормоза 7 или многодискового «мокрого» сцепления. В этом случае при вращении шестерни 6 сателлиты 3, перекатываясь по зубьям неподвижной шестерни 2, начнут вращаться вокруг своих осей и одновременно через водило 4 будут вращать ведомый вал 5. При растормаживании шестерни 2 сателлиты 3, свободно перекатываясь по шестерне 6, будут вращать шестерню 2, а вал 5 будет оставаться неподвижным.
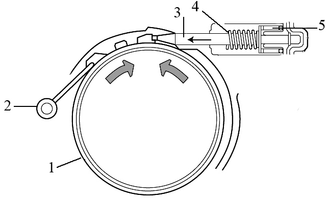
Затормаживание коронной шестерни осуществляется ленточным тормозом (рис. 11.74). Внутренняя поверхность ленточного тормоза покрыта фрикционным материалом. Один конец ленточного тормоза крепится к картеру коробки передач, в то время как другой конец соединяется со штоком 3 поршня. При подаче рабочей жидкости, под ее давлением перемещается поршень и шток, который обжимает ленточный тормоз вокруг барабана. Когда давление сбрасывается, возвратная пружина 4 перемещает поршень назад в его цилиндр, и ленточный тормоз отпускает тормозной барабан.

В автоматических коробках передач применяются фрикционные муфты сцепления. Фрикционная муфта сцепления состоит комплекта покрытых слоем фрикционного материала дисков, прижатых друг к другу через прокладки в виде тонких пластин из гладкого металла (рис. 11.75).

При этом часть фрикционных дисков оснащены внутренними шлицами, часть – наружными. Прижимание дисков друг к другу обеспечивается гидравлическим поршнем 2, для выключения сцепления применяется возвратная пружина. При подаче к поршню давления рабочей жидкости диски плотно прижимаются друг к другу, образуя одно целое (рис.11.75, б). Как только давление снимается, возвратная пружина отводит поршень назад и диски выводятся из зацепления (рис. 11.75, а). В качестве возвратных пружин могут использоваться винтовые, диафрагменные и гофрированные дисковые пружины.
Гидромеханическая коробка передач без электронного управления. В качестве примера гидромеханических передач рассмотрим двухступенчатую гидромеханическую коробку передач (рис. 11.76). Она состоит из гидротрансформатора 1, механической планетарной коробки передач с многодисковым фрикционом 3 и двумя ленточными тормозными механизмами 2 и 4 и гидравлической системы управлениях кнопочным переключением передач. В двухступенчатой механической коробке передач имеются два одинаковых планетарных механизма 5 и 6.

В нейтральном положении фрикцион 3, а также тормозные механизмы 2 и 4 выключены. Трогание автомобиля с места происходит при включенной первой передаче. В этом случае масло под давлением поступает в цилиндр тормозного механизма 2, лента которого затягивается, и солнечная шестерня планетарного механизма 6 останавливается.
Если включена кнопка «Движение», то при разгоне автомобиля происходит автоматическое переключение на вторую передачу, что обеспечивается одновременным выключением тормозного механизма 2 и включением фрикциона 3. В этом случае планетарные механизмы 5 и 6 блокируются и вращаются как одно целое.
Для движения автомобиля задним ходом включается только тормозной механизм 4.
Для подачи рабочей жидкости (масла) в гидромеханической коробке передач предусматриваются масляные насосы и центробежные регуляторы, которые в зависимости от частоты вращения перемещают золотники, регулирующие подачу масла в тот или иной масляный канал, управляющий фрикционами, также тормозными механизмами.
Рабочая температура автоматической коробки передач может быть сопоставима с температурой двигателя, а иногда может даже превышать ее. Поэтому автомобили с автоматической коробкой имеют специальную систему охлаждения, радиатор которой либо встроен в радиатор системы охлаждения двигателя, либо установлен отдельно и охлаждается воздушным потоком.
Гидромеханическая коробка передач с электронным управлением. В настоящее время автоматические коробки передач имеют электронное управление, что позволяет гораздо точнее выдерживать заданные моменты переключения (с точностью до 1 % вместо прежних 6…8 %). Появились дополнительные возможности: по характеру изменения скорости при данной нагрузке на двигатель ЭБУ может вычислить массу автомобиля и ввести соответствующие поправки в алгоритм переключения. Электронное управление предоставило неограниченные возможности для самодиагностики, что позволило корректировать процессы управления в зависимости от многих параметров (от температуры и вязкости жидкости до степени износа фрикционных элементов).
Система автоматического управления обычно состоит из следующих подсистем:
— функционирования (гидравлические насосы, регуляторы давления);
— измерительная, собирающая информацию о параметрах управления;
— управляющая, вырабатывающая управляющие сигналы;
— исполнительная, осуществляющая управление переключением передач, работой двигателя;
— подсистема ручного управления;
— подсистема автоматических защит, предотвращающая возникновение опасных ситуаций.
Основными элементами электронной системы управления являются электронный блок и рычаг управления.
В качестве примера современной АКП с электронным управлением рассмотрим шестиступенчатую коробку передач 09G японского концерна AISIN (рис. 11.77).
АКП состоит из гидротрансформатора, механической планетарной коробки передач с многодисковыми фрикционамии многодисковыми тормозными механизмами, гидравлической системы, систем охлаждения и смазки, электрической системы.

Планетарные ряды объединены по схеме, разработанной Лепеллетье (Lepelletier) (рис. 11.78). Крутящий момент двигателя подводится к одинарному планетарному ряду (рис. 11.78, а). Далее он направляется на сдвоенный планетарный ряд Равиньо (Ravigneaux) (рис. 11.78, б).

На водиле планетарной передачи Равиньо (рис. 11.79) установлены две группы сателлитов:
— короткие сателлиты большого диаметра, находящиеся в зацеплении с малой солнечной шестерней;
— длинные сателлиты малого диаметра, находящиеся в зацеплении с большой солнечной шестерней и короткими сателлитами.

В планетарной передаче Равиньо имеется только одна коронная шестерня, которая находится в зацеплении с короткими сателлитами.
Поток мощности всегда выходит из планетарной передачи через коронную шестерню. Конструкция передачи Равиньо позволяет реализовать 4 передачи переднего хода и одну – заднего хода.
Управление одинарным планетарным рядом производится посредством многодисковых муфт K1 и K3 и многодискового тормоза B1 (рис. 11.27). Число сателлитов в планетарных рядах выбирается в зависимости от передаваемого крутящего момента.
Сдвоенный планетарный ряд управляется посредством многодисковой муфты K2, многодискового тормоза B2 и обгонной муфты F. В системе управления муфтами предусмотрены устройства динамической компенсации рабочего давления, которые делают работу муфт независящей от частоты вращения. Муфты K1, K2 и K3 служат для подвода крутящего момента к планетарным рядам, а с помощью тормозов B1 и B2, а также обгонной муфты обеспечивается передача реактивных моментов на картер коробки передач.
Давление в рабочих цилиндрах муфт и тормозов изменяется посредством регулирующих клапанов.
Обгонная муфта F представляет собою механизм, который работает параллельно с тормозом.
Работа автоматической коробки передач. Первая передача в обычном режиме. Активными механизмами являются многодисковая муфта K1 и обгонная муфта F (рис. 11.80, а).
Вместе с валом турбинного колеса вращается коронная шестерня H1 одинарного планетарного ряда. Эта шестерня приводит во вращение сателлиты P1, которые обкатываются по неподвижной солнечной шестерне S1. При этом приводится во вращение водило PT1.
Так как муфта многодисковая K1 замкнута, крутящий момент передается на солнечную шестерню S3 сдвоенного планетарного ряда. Длинные сателлиты передают крутящий момент на коронную шестерню H2, которая непосредственно связана с ведущей шестерней промежуточной передачи. Водило PT2 опирается при этом на обгонную муфту F.
Учитывая, что первая передача осуществляется с участием обгонной муфты F, при переходе автомобиля на режим движения накатом передача крутящего момента прекращается. При этом ведущими являются колеса автомобиля. Обгонная муфта F свободно вращается в направлении, противоположном ее блокировке, поэтому тормозное действие двигателя не используется.

Первая передача при торможении двигателем в режиме управления. Активные механизмами являются многодисковая муфта K1 и многодисковый тормоз B2 (рис. 11.80, б). Передача крутящего момента соответствует при этом описанной выше для первой передачи. Торможение двигателем при движении на первой передаче осуществляется с помощью тормоза B2. При этом тормоз B2 блокирует обгонную муфту F и вместе с ней водило PT2. В отличие от обгонной муфты тормоз B2 может блокировать водило PT2 при любом направлении его вращения, что позволяет использовать его и при включении заднего хода.
Вторая передача. Активными механизмами являются многодисковая муфта K1 и многодисковый тормоз B1 (рис. 11.81, а)
Вал турбинного колеса вращается вместе с коронной шестерней H1 одинарного планетарного ряда. Эта шестерня увлекает за собой сателлиты P1, которые обкатываются по неподвижной солнечной шестерне S1. Вместе с ними вращается водило PT1.
Муфта K1 соединяет водило PT1 с солнечной шестерней S3, передавая крутящий момент на сдвоенный планетарный ряд.
Тормоз B1 удерживает большую солнечную шестерню S2 от вращения. С солнечной шестерни S3 крутящий момент передается на короткие сателлиты P3 и далее на длинные сателлиты P2. При этом длинные сателлиты P2 обкатываются по неподвижной солнечной шестерне S2 и приводят во вращение коронную шестерню H2.

Вал турбинного колеса вращается вместе с коронной шестерней H1 одинарного планетарного ряда. Эта шестерня увлекает за собой сателлиты P1, которые обкатываются по неподвижной солнечной шестерне S1. Вместе с ними вращается водило PT1.
Муфта K1 соединяет водило PT1 с солнечной шестерней S3, передавая крутящий момент на сдвоенный планетарный ряд. Муфта K3 также передает крутящий момент на солнечную шестерню S2 сдвоенного планетарного ряда. Одновременное замыкание муфт K1 и K3 приводит к блокированию сдвоенного планетарного ряда. В результате этого крутящий момент передается со сдвоенного планетарного ряда непосредственно на ведомую шестерню промежуточной передачи.
Четвертая передача. Активными механизмами являются многодисковые муфты K1 и К2 (рис. 11.82, а).
Вал турбинного колеса вращается вместе с коронной шестерней H1 одинарного планетарного ряда и наружным барабаном муфты K2. Шестерня H1 увлекает за собой сателлиты P1, которые обкатываются по неподвижной солнечной шестерне S1. Вместе с ними вращается водило PT1.
Муфта K1 соединяет водило PT1 с солнечной шестерней S3, передавая крутящий момент на сдвоенный планетарный ряд. Одновременно крутящий момент передается с вала турбинного колеса на водило PT2 сдвоенного планетарного ряда через замкнутую муфту K2. Длинные сателлиты P2 и находящиеся с ними в зацеплении короткие сателлиты P3 приводят во вращение коронную шестерню H2 через водило PT2.

Вал турбинного колеса вращается вместе с коронной шестерней H1 одинарного планетарного ряда и наружным барабаном муфты K2. Шестерня H1 увлекает за собой сателлиты P1, которые обкатываются по неподвижной солнечной шестерне S1. Вместе с ними вращается водило PT1.
Муфта K3 соединяет водило PT1 с солнечной шестерней S2, передавая крутящий момент на сдвоенный планетарный ряд.
Муфта K2 соединяет вал турбинного колеса с водилом сдвоенного планетарного ряда, передавая на него крутящий момент. Длинные сателлиты P2 вместе с водилом PT2 и солнечной шестерней S2 приводят во вращение коронную шестерню H2.
Шестая передача. Активными механизмами являются многодисковая муфта К2 и тормоз В1 (рис. 11.83, а).
Тормоз B1 удерживает солнечную шестерню S2 от вращения. Муфта K2 соединяет вал турбинного колеса с водилом сдвоенного планетарного ряда, передавая на него крутящий момент. Сателлиты P2 обкатываются по неподвижной солнечной шестерне S2, увлекая во вращение коронную шестерню H2.
Муфты K1 и K3 разомкнуты, поэтому одинарный планетарный ряд в передаче крутящего момента не участвует.

Передача заднего хода. Активными механизмами являются многодисковая муфта К3 и тормоз В2 (рис. 11.83, б).
Вал турбинного колеса вращается вместе с коронной шестерней H1 одинарного планетарного ряда. Шестерня H1 увлекает за собой сателлиты P1, которые обкатываются по неподвижной солнечной шестерне S1. Вместе с ними вращается водило PT1.
Муфта K3 соединяет водило PT1 с солнечной шестерней S2, передавая крутящий момент на сдвоенный планетарный ряд. Тормоз B2 удерживает водило PT2 сдвоенного планетарного ряда. С солнечной шестерни S2 крутящий момент передается на длинные сателлиты P2. Так как водило PT2 неподвижно, крутящий момент передается на коронную шестерню H2, постоянно связанную с валом промежуточной передачи. При этом коронная шестерня H2 вращается в противоположном коленчатому валу направлении.
Муфта блокировки гидротрансформатора (МБГ). Гидротрансформатор работает по принципу гидродинамической передачи, поэтому передача крутящего момента возможна только при наличии разности частот вращения насосного и турбинного колес. Эту разность называют проскальзыванием гидротрансформатора. Проскальзывание приводит к снижению его KПД. Для устранения проскальзывания при движении автомобиля с высокими скоростями и малыми нагрузками в АКП применяется муфта блокировки гидротрансформатора, ведомый диск 5 которой может иметь накладки с одной или с двух сторон (рис. 11.84). В последнем случае обеспечивается более длительная передача больших крутящих моментов. Диск с накладками установлен между корпусом гидротрансформатора и нажимным диском муфты 3. Ведомый диск жестко соединен с турбинным колесом. При замыкании муфты крутящий момент передается на ведомый диск с двух сторон и далее на турбинное колесо.
Управление муфтой производится посредством электрогидравлических распределителей, которые изменяют направление течения рабочей жидкости и ее давление на ту или иную сторону нажимного диска муфты. Передаваемое через управляющую магистраль давление жидкости действует на золотниковые клапаны, которые управляют направлением подачи и давлением рабочей жидкости, поступающей в муфту блокировки.

При разомкнутой муфте (рис.11.84, а) на обе стороны ее нажимного диска действует одинаковое давление. При этом жидкость перетекает из полости под нажимным диском в полость турбинного колеса вдоль поверхностей трения промежуточного диска. Нагретая рабочая жидкость направляется через распределительный клапан 11 к охладителю 10.
Замыкание муфты блокировки гидротрансформатора производится в результате изменения направления подачи жидкости распределителем и изменения ее давления регулятором (рис.11.84, б). При этом давление в полости под нажимным диском снижается. Нажимной диск перемещается под давлением жидкости со стороны турбинного колеса 4, в результате чего муфта замыкается. Передаваемый муфтой, крутящий момент изменяется в зависимости от положения распределителя и регулятора давления в системе ее управления. При этом момент, передаваемый муфтой, зависит от тока управления электромагнитного клапана регулятора давления 1– чем больше сила тока, тем больше момент.
Система охлаждения жидкости. Охлаждение рабочей жидкости в АКП может осуществляться как в теплообменнике (охладителе), закрепленном непосредственно на картере коробки передач и подключенном к системе охлаждения двигателя, так и с помощью обдуваемом воздухом радиатора, установленного в передней части кузова перед радиатором системы охлаждения двигателя.
Электрогидравлическая система управления коробкой. Системы управления автоматической коробкой передач состоит из электрогидравлического модуля, электронного блока управления, многофункционального датчика, селектора (рис. 11.85).

Муфты и тормоза (механизмы переключения передач) приводятся в действие гидроцилиндрами, управляемыми посредством золотников-распределителей и электромагнитных клапанов, размещенных в распределительном модуле. Электромагнитные клапаны включаются блоком управления коробкой передач и управляют механизмами переключения передач и муфтой блокировки гидротрансформатора. Они также регулируют давление рабочей жидкости (в главной магистрали, в контурах управления, в гидротрансформаторе и в системе смазки коробки передач).
В системе управления применяются электромагнитные клапаны двух типов: клапаны управления переключением передач, которые могут находиться только в двух состояниях (открыт или закрыт), и регулирующие давление клапаны (с широтно-импульсной модуляцией электропитания). Электромагнитные клапаны переключения передач относятся к двухпозиционным устройствам управления, которые могут быть только открытыми или только закрытыми. Через них рабочая жидкость (масло) поступает под давлением к золотникам-распределителям, которые открывают или закрывают каналы подвода рабочей жидкости к исполнительным устройствам механизмов переключения передач. Регулирующие клапаны открываются в соответствии с проходящим через их обмотки током, изменяя давление рабочей жидкости в магистрали.
Многофункциональный датчик соединен с рычагом селектора посредством троса. Он вырабатывает электрические сигналы в соответствии с перемещениями рычага селектора и передает их на блок управления автоматической коробкой передач.
В датчике имеются шесть скользящих контактов, а именно:
– четыре контакта для определения позиции рычага селектора;
– один контакт для разрешения пуска двигателя при положениях рычага селектора в позициях «P» и «N»;
– один контакт для активизации выключателя ламп заднего хода.
Для управления автоматическими коробками передач используются различные датчики. Основными из них являются:
— датчик частоты вращения на входе коробки передач;
— датчик частоты вращения на выходе коробки передач;
— датчик температуры рабочей жидкости;
— датчик перехода на режим «Кикдаун». Посредством данного датчика производится временное повышение давления в управляющем контуре соответствующего клапана переключения передач, что приводит к увеличению значения скорости переключения на повышающую очередную передачу. Активация функционирования данного датчика происходит только при полностью выжатой педали газа.
— датчик или микровыключатель системы Tiptronic.
Система Tiptronic служит для переключения передач от руки с помощью специальных лепестков, расположенных на рулевом колесе (рис. 11.86).

Переключение на высшую передачу осуществляется нажатием лепестка (Tip +) и переключение на низшую передачу нажатием лепестка (Tip –). При воздействии на какой-либо из этих переключателей в процессе работы коробки передач в автоматическом режиме производится перевод ее в режим ручного управления Tiptronic. Вырабатываемые переключателями сигналы непосредственно направляются в блок управления автоматической коробкой передач. Эти переключатели действуют параллельно с рычагом селектора, находящимся в кулисе Tiptronic.
По истечении отсчитываемого таймером определенного промежутка времени после последнего использования переключателей коробка передач вновь переходит на режим автоматического переключения передач.
При управлении автоматической коробкой передач имеется несколько позиций рычага переключения.
В правом секторе рычаг может занимать четыре позиции:
При положении рычага в позиции D программа обеспечивает различные алгоритмы переключения в соответствии с сопротивлением движения, нагрузкой, положением педали акселератора, дорожной ситуацией. Алгоритмы управления соответствуют движению в различных условиях:
— движение с постоянной высокой скоростью;
— городской режим движения;
— горный режим движения;
— режим буксировки;
— движение на поворотах.
При положении рычага получении сигнала в позиции S блок управления сдвигает режимы переключения всех передач в сторону большей частоты вращения коленчатого вала. В результате этого увеличивается интенсивность разгона автомобиля.
В автоматической коробке передач предусматриваются также режимы «кик даун», «фаст-офф» и «кик-фаст». При работе в режиме «кик даун» резко нажимают на педаль подачи топлива до упора, затем резко отпускают. При этом включается низшая передача, и при дальнейшем нажатии на педаль автомобиль разгоняется с максимальным ускорением. Когда будет достигнута нужная скорость опять включается высшая передача, например, четвертая после третьей. Режим «фаст-офф» при резком отпускании педали не дает коробке включить высшую передачу, а оставляет ту, на которой осуществлялся разгон, что позволяет интенсивно тормозить двигателем и легко держать дистанцию при движении с переменной скоростью. Режим «кик-фаст» определяет, нужно ли включать понижающую передачу, и дает соответствующую команду задолго до того, как будет достигнуто положение «кик-даун».
При перемещении рычага влево водитель переводит коробку передач в режим ручного переключения. Движением рычага вперед-назад – включение повышающей-понижающей передачи. Такое переключение передач принято называть секвентальным (последовательным). Электронный блок управления является адаптивным, он запоминает манеру вождения водителя и корректирует алгоритмы автоматического переключения передач. Благодаря расширенному обмену данными между системой управления KП и другими системами автомобиля, например, системой управления двигателем и системой стабилизации ESP, используются данные, которые позволяют определить моментальное состояние движения и характер вождения с большей точностью.
Функциональная структура программы переключения автоматической коробки передач подразделяется на три группы (рис.11.87):
– определение характера вождения;
– выбор программы переключения в зависимости от состояния движения;
– выбор передач.
