Ремонт лонжеронов. Во время ремонта, требующего частичной замены лонжеронов, необходимо следить, чтобы их вырезка производилась в местах, указанных изготовителем. Эти места не должны располагаться в зонах, специально предназначенных для поглощения удара и смятия в результате его.
Перечислим способы придания амортизирующих свойств лонжеронам:
— образование складок при штамповке, предусматривающее смятие лонжерона в гармошку при аварийном ударе;
— придание лонжеронам S-образной формы;
— выполнение специальных отверстий или сквозных прорезей;
— применение штампованных профилей;
— переменное сечение лонжеронов;
— применение специальных вставок.
При частичной замене лонжерона особенностью процесса является то, что не требуется применения соединительной муфты. Нужна только дуговая сварка в среде защитного газа. Установка лонжерона производится следующим образом: обрезают лонжерон на 0,5 мм перед фартуком; после подгонки устанавливают новый лонжерон на шаблон.
Если эта операция выполняется на контрольно-измерительном стенде, то в качестве элемента жесткости применяют подвижную призму. Надо приварить новый лонжерон встык дуговой сваркой в среде защитного газа. Соединение лонжерона с брызговиком колеса осуществляется с помощью аппарата точечной сварки с удлиненными захватами для электродов.
При выполнении отделочных операций не надо зачищать сварочный шов лонжерона с фартуком, так как он покрывается слоем герметика. Надо нанести из краскопульта покрытие из жидкого воска на передние лонжероны и траверсу и покрыть нижнюю часть брызговиков звукоизоляционной мастикой.
Очень важно, чтобы любое вмешательство, связанное с выправкой или заменой (даже частичной) лонжерона, выполнялось на стенде с точной выверкой параметров.
Вырезают лонжерон ручной ножовкой или плазменным резаком. Для облегчения подгонки новой части лонжерона вырез делается косым. Такой метод дает больше свободы при установке лонжерона. Разделение точек сварки осуществляется с помощью вырезных фрез, в результате просверленной оказывается только деталь, подлежащая замене.
После снятия лонжерона появляется возможность подготовки места соединения. Точки сварки удаляют с помощью ручной шлифовальной машинки. Ею удаляют также следы коррозии. Если есть доступ к обрабатываемой зоне, предпочтительнее удалять ржавчину с помощью пескоструйного аппарата.
Для обеспечения качественной точечной сварки новая часть лонжерона должна быть зачищена. Затем наносится антикоррозионное покрытие.
Далее новую деталь устанавливают на автомобиль, закрепляют тисочными зажимами к оставшейся на месте детали. Лонжерон приваривают точечной сваркой к брызговику или полу багажного отсека.
Установка для точечной сварки снабжается соответствующими кронштейнами, причем длину их выбирают наименьшей. Электроды должны быть тщательно заточены. Необходимо соблюдать шаг сварки, т. е. расстояние между каждой точкой. Разрез лонжерона сваривается встык непрерывным швом. Сварка должна быть сквозная, чтобы обеспечить необходимую механическую прочность соединения.
При ремонте лонжерона никогда нельзя упускать из вида, что он является усилительным элементом кузова и в значительной степени определяет его жесткость. При ремонте необходимо руководствоваться методом, рекомендованным изготовителем автомобиля. Не рекомендуется усиливать лонжерон при частичной замене, главным образом, в передней и задней частях кузова, так как при этом увеличивается прочность зоны, предназначенной для смятия, т. е. для амортизации. Если амортизация этой зоны окажется недостаточной, то в случае возможного удара деформация кузова пройдет дальше, т. е. к кабине автомобиля, которая не должна деформироваться.
Решение о правке или замене лонжерона на поврежденной автомашине зависит в значительной степени от протяженности деформированной зоны, степени деформации, а также от квалификации ремонтника. При небольшой деформации лонжерона на большой длине даже при наличии мелкой складки не требуется замены лонжерона. С помощью домкрата или угольника можно восстановить первоначальную форму и положение лонжерона с сохранением его характеристик. С другой стороны, при значительной деформации лонжерон необходимо заменить, так как правка вызовет изменение структуры металла и прочности, что, в свою очередь, приведет к изменению характеристик самого кузова.
Ремонт средней стойки. Средняя стойка – деталь боковой части кузова и повреждается, как правило, одновременно с дверью. Деформация стойки влияет на состояние передней двери, расположение задней двери, оси которых установлены на средней стойке, а также вызывает деформацию крыши, поддерживаемой средней стойкой.
Средняя стойка состоит из двух основных частей: наружной штампованной части в форме балки и накладки, часто выполненной с отверстиями и привариваемой к отбортовке наружного профиля. Внизу стойка соединяется с порогом кузова, а верхняя часть стойки соединяется с верхом боковой части кузова. Способы соединения стойки с кузовом определяются изготовителем.
Применяются два вида ремонта: правка поврежденной стойки и ее замена .
Правку деформированной стойки осуществляют в следующей последовательности. Снимают двери и вынимают сиденья. Снимают со стойки декоративные накладки и ковер с пола кузова. Далее производят правку стойки с помощью домкрата, который упирают в две большие деревянные подкладки, расположенные у нижнего и верхнего основания стойки.
При рихтовке стойки наковаленку проводят через отверстия в накладке, а в случае необходимости прорезают накладку. После восстановления формы наружного профиля прорез для наковаленки заваривают и производят сборку разобранной части кузова.
При замене стойки, кроме разборки, указанной выше, необходимо снять обивку крыши, закрыть панель приборов и рулевое колесо тканью. Далее производят общую правку поврежденной стойки с помощью толкающего домкрата, а также, по возможности, правку порога так, чтобы поврежденные детали заняли свои первоначальные положения на боковой части кузова. Затем удаляют поврежденную стойку.
В зависимости от конструкции могут применяться следующие способы удаления стойки: вырезка; разделение точек сварки; комбинация этих двух способов .
Обычно стойку срезают в верхней части на расстоянии нескольких сантиметров от конца (вне зоны сопряжения) или ниже радиуса сопряжения стойки с проемом двери. Накладку вырезают на несколько сантиметров ниже, посреди отверстия, если оно есть, чтобы сместить будущую сварку. Сварные точки сдвинутой части накладки высверливаются со стороны наружного профиля, чтобы не повредить остающуюся часть накладки.
Нижняя часть стойки выполняется в двух вариантах. Рассмотрим каждый в отдельности.
Если стойка выполнена как единое целое с порогом, то новая стойка заканчивается поперечной частью, представляющей собой отрезок порога кузова, посредством которого стойка соединяется с порогом. Поврежденную стойку удаляют «болгаркой» или высверливанием сварных точек. Размечают места разрезов с припуском под дальнейшую подгонку. Вырезают порог и разъединяют части, сваренные точечной сваркой. После удаления поврежденной стойки производят зачистку заусенцев, могущих остаться после вырезки, а также очищают поверхность металла от краски, ржавчины и др. Новую стойку зачищают, устанавливают на место и подгоняют.
Если стойка соединяется точечной сваркой либо с лонжероном, либо с порогом, либо одновременно с этими двумя деталями, для ее снятия удаляют сварные точки, применяя любые способы.
Как и в предыдущем случае, после удаления поврежденной стойки удаляют заусенцы и производят зачистку опорной поверхности металла. Очищают новую стойку, устанавливают на место и подгоняют.
Перед закреплением стойки по чертежу изготовителя проверяют размеры диагоналей. Затем закрепляют стойку предварительно, чтобы проверить зазоры дверей и их расположение. Предварительное крепление осуществляется с помощью ручных тисков, которые обеспечивают последовательное выставление дверей. Можно также закрепить стойку винтами-саморезами, что дает возможность одновременной установки и регулировки двух дверей за счет овальности отверстий.
После подгонки дверей их снимают и производят точечную сварку тех участков стойки с другими деталями, которые для этого предназначены. Разрезы, выполненные пилой, заваривают преимущественно сплошным швом кислородно-ацетиленовой горелкой в струе защитного газа. В местах, недоступных для точечной сварки, производят сварку глухими точками, затем заравнивают места сварки и ведут подготовку поверхностей.
Если стойка выполнена как единое целое с порогом, то ее нижнюю часть отрезают в поперечном направлении так же, как и ее верхнюю часть. Последующая сборка осуществляется сваркой.
Ремонт порогов. Обычно пороги привариваются к основанию кузова и образуют нижнюю часть кузова. У некоторых типов автомобилей пороги не устанавливаются с боковой стороны остова кузова, а выполняются съемными и крепятся к основанию кузова. Пороги размещаются с внешней и боковой сторон лонжеронов в зоне кабины, образуя защиту от различных выбросов и слабых ударов.
Рассмотрим сначала ремонт съемных порогов . Крепление порогов часто осуществляется винтами-саморезами. Если порог имеет небольшое повреждение, вывинчивают винты крепления и снимают порог. Правку порога производят на верстаке с помощью обычного инструмента для правки и рихтовки.
Перед установкой отремонтированного порога необходимо покрыть внутренние поверхности антикоррозионной мастикой. Если порог имеет средние или значительные повреждения, дырки от коррозии, то ремонтировать его невыгодно, предпочтительнее заменить новым.
Приваренные пороги . Если порог имеет незначительные повреждения, без резко выраженных складок, то его можно выправить вытяжкой снаружи. Для этого приваривают специально предназначенные для выправки «гвозди» или «кольца», а затем с помощью инерционного съемника или споттера производят последовательную вытяжку.
Если порог получил средние повреждения, то, учитывая большую трудоемкость снятия и установки порога, выгоднее ремонтировать поврежденный участок. После снятия дверей, сидений и покрытия пола, находящихся в зоне ремонта, ремонт может быть выполнен различными способами.
Например, вырезают сбоку порога прямоугольное окно, в которое можно ввести соответствующей формы наковаленку или другой инструмент, позволяющий осуществить вытяжку поврежденного участка, например, с помощью гидравлического приспособления. Когда форма участка порога восстановлена, вырезанное окно заваривают кусочком листа. Поскольку обратная сторона сварки является недоступной, нельзя осуществить общую выправку шва, поэтому внешний шов следует загладить оловянным припоем.
При другом способе вырезают отверстие на верхней части порога двумя поперечными резами, затем разъединяют точки сварки. Через эту вскрытую частично полость можно ввести наковаленку и выправить. После выправки поврежденной части вскрытое отверстие закрывают и заваривают.
Если поврежденная часть находится под дверью, ее вырезают и заменяют новой. Вырезают поврежденный участок за пределами поврежденной зоны, чтобы оставшаяся часть была неповрежденной. Из новой детали выкраивают соответствующую часть, подгоняют ее, устанавливают и приваривают.
Если порог получил серьезные повреждения, вырезают поврежденную часть «болгаркой» или с помощью пневматического зубила. Эти вырезы производятся около передней и задней дверей, а также около основания средней стойки.
Часто повреждается и сама стойка, поэтому ее заменяют одновременно с порогом. Вырезка лонжерона, а также средней стойки производится напротив крыши. После вырезки поврежденной части контролируют состояние лонжерона. Если надо выправить лонжерон, то проверяют состояние основания кузова, используя в случае необходимости соответствующий инструмент. Места установки новой части лонжерона зачищают, удаляя при этом частицы металла, оставшиеся после разделения сварочных точек. Далее выравнивают поверхности лонжерона. Новую часть лонжерона подгоняют по месту, устанавливают и предварительно закрепляют таким же образом, как это делалось со средней стойкой. Затем устанавливают новые или неповрежденные двери. После регулировки зазоров двери снимают. Производят точечную сварку деталей, которые были соединены точечной сваркой, а затем заканчивают соединение деталей с помощью кислородно-ацетиленовой горелки.
Устранение деформации крыши. Как правило, крыша получает повреждения в результате бокового наезда на высокие препятствия, такие, как дерево, стена и т. п. В таком случае восстановление формы крыши очень трудоемко и, возможно, невыгодно.
Перед выполнением ремонтных работ необходимо снять сидения, разобрать обивку крыши, закрыть или снять рулевое колесо и панель приборов. При необходимости могут быть сняты одна или несколько дверей.
Выколотку листового металла крыши, открытого изнутри, производят по общей методике. Если вмятина большая, применяют толкающий домкрат. Он устанавливается на деревянную опору, передавая требуемое опорное усилие на пол кузова, последний подпирается домкратом, подставленным под днище кузова. Между головкой домкрата и крышей помещают фасонный клин или по возможности используют резиновую головку.
Как и при правке других деталей, производят разнообразные выдавливания вокруг вмятины с целью постепенного выправления смятого металла. Одновременно происходит выправка верхней части боковой поверхности основания кузова с помощью клина, устанавливаемого между домкратом и внутренней поверхностью боковой стенки кузова.
Рихтовку крыши необходимо производить легкими ударами точно так, как рихтовку дверей. Так как края крыши при рихтовке практически не деформируются, то возникающее удлинение листового металла создает выпучивание. В связи с тем, что поверхность крыши большая, может образоваться удлиненный пузырь. Следовательно, максимальный объем работы желательно выполнять деревянной киянкой, а рихтовочный молоток использовать лишь для тонкой отделочной рихтовки.
Рихтовку скругленных участков следует производить по направлениям, параллельным бортику крыши.
Контрольные вопросы к подразделу подразделу 6.2.5
1. Какие виды ремонта предусматриваются при ремонте кузова легкового автомобиля в зависимости от степени повреждения или коррозионного разрушения кузовной детали?
2. Какими способами производится оценка повреждений поверхности кузова?
3. Чем отличается оригинальный сварочный листовой металл от ремонтного листового металла?
4. Чем определяется геометрия отремонтированного кузова?
5. Какой инструмент и приспособления применяют при рихтовке кузова?
6. В чем заключается суть технологии восстановление формы деталей с помощью рихтовочного молотка?
7. В чем заключается суть технологии ремонта панели с помощью приварных шайб?
8. Какие разновидности методов вытягивания можно привести?
9. В чем заключается суть технологии устранение выпучин в панелях кузова без нагрева?
10. В чем заключается суть технологии устранение выпучин в панелях тепловым способом (с нагревом и охлаждением)?
11. В чем заключается сущность способа беспокрасочного удаления вмятин?
12. Какой инструмент применяют при беспокрасочном удалении вмятин?
13. Что представляет собой минилифтер (инопулер) и как он работает?
14. Что представляет собой вакуумная вытяжка и как она работает?
15. Расскажите о преимуществах и недостатках беспокрасочного удаления вмятин?
16. В чем заключается сущность технологии ремонта лонжеронов кузова?
17. В чем заключается сущность технологии ремонта стойки кузова?
18. В чем заключается сущность технологии ремонта порогов кузова?
19. В чем заключается сущность технологии устранения деформации крыши кузова?
6.2.6 Удаление и замена поврежденных элементов кузова
6.2.6.1. Удаление поврежденных элементов кузова
Разметка. Технология удаления не подлежащих ремонту панелей кузова зависит от способа их крепления к корпусу. В цельнометаллических кузовах сварной конструкции панели соединены между собой, как правило, с помощью сварки (контактной, электродуговой или газовой).
Панели, являющиеся частью всего корпуса кузова сварной конструкции, вырубают ручным или пневматическим зубилом, вырезают пилами, ножницами либо газовыми резаками.
Перед выполнением работ по удалению поврежденных элементов кузова размечают границы удаляемого участка. Разметку выполняют после предварительной установки сопряженных поверхностей деталей или в соответствии с допустимыми зазорами в исходное положение.
Линии разметки наносят: по отсчету от базовых точек, шаблону или по размерам ремонтной детали. Перед началом разметки любым из способов визуально определяют и наносят мелом границы заменяемого участка.
Разметку по отсчету от базовых точек осуществляют в следующем порядке. Базовые точки отсчета принимают на пересечении характерных линий деталей или на расстоянии, удобном для измерения от пересечения характерных линий детали. По расстоянию от базовых точек находят координаты точек, определяющих линию отреза поврежденного участка. Намеченные точки соединяют в линии с помощью гибкой металлической линейки, мелованного шнура или клейкой ленты.
Разметку по шаблону выполняют в случаях, когда предприятия по ремонту кузовов специализируются на определенных моделях автомобилей, а повреждения кузовов при всем своем разнообразии предопределяют деление панелей на две-три ремонтируемые зоны. Для разметки удаляемых поврежденных зон используют шаблоны, которые изготавливают из старых панелей или картона.
Разметку по ремонтной детали производят после удаления поврежденного участка и установки на его место готовой ремонтной детали, размеры которой несколько превышают границы удаленного участка. Линию разметки наносят на оставшуюся часть панели или детали кузова по кромке наложенной ремонтной детали.
Рубка. Удаление поврежденных элементов кузова вырубкой выполняют вручную с помощью зубила или пневматических резаков с набором специальных насадок.
режущая кромка зубила должна быть прямолинейной и заточенной под углом 60°. Вырубаемые детали укладывают на металлическую массивную незакаленную опору. Рубку осуществляют путем нанесения ударов по головке зубила молотком, перемещая режущую кромку в направлении вырубаемой части. При каждом перемещении зубила режущую кромку сдвигают на 1/4 ее длины по линии предыдущего реза. После правки киянкой линию реза обрабатывают напильником или шлифовальным кругом. Зубило используют для прямолинейной рубки деталей из тонких листов, для обрезания фасок на толстых металлических листах, при отсутствии шлифовальной машинки, а также для рубки металлических прутков и т. п.
Распиливание. Распиливание независимо от способа выполнения операции заключается в разделении металла на части путем образования узких прорезей посредством снятия стружки. Распиливание осуществляется вручную или с помощью механических пил. Ручное распиливание производится ручными пилами (ножовками), а механическое распиливание – стационарными или портативными пилами. Стационарные пилы устанавливаются неподвижно на фундаменте и в зависимости от направления движения рабочего инструмента бывают поступательного и вращательного типа.
Переносные электрические ножовки представляют собой устройства, снабженные электродвигателем и механической передачей.
Резка. Резка металла может осуществляться ножницами, отрезными машинками, гильотинами, зигмашинами (рис. 6.59) и газовой сваркой.
При выполнении работ по изготовлению отдельных частей кузова из жести основным оборудованием служат: зигмашина (для отбортовки краев), вальцовочная машина (для правки листов), вибрационные или рычажные ножницы, гидравлический пресс с набором приспособлений, стяжек и растяжек для правки поврежденных кузовов и деталей оперения автомобиля.

Электромеханическая (рис. 6.59, а) зигмашина состоит из чугунной свободностоящей станины со столом, рабочего механизма, вращаемого электродвигателем с педальным включением, верхнего и нижнего сменных рабочих роликов и регулировочной рукоятки.
В зависимости от толщины материала и производимой операции расстояние между осями роликов можно изменять. Верхний вал с закрепленным на нем роликом перемещается вверх и вниз и устанавливать на определенном расстоянии от нижнего вала.
Ролики могут вращаться с переменной скорость, которая регулируется педалью.
Формообразование осуществляется прокаткой заготовки между двумя соответственно профилированными вращающимися в разные стороны роликами, установленными на концах валов машины, поднимая или опуская один из валов при помощи винта с рукояткой.
Ручная зигмашина (рис. 6.59, б) имеет сменные прокатные ролики. Фасонный профиль каждой пары роликов предназначен для выполнения определенной операции: прокатки бортика, выкатки валика жесткости, отгибания кругового бортика под закатку проволоки, закатки проволоки, уплотнения фальцев, гофрирования конца обечайки.
Чтобы прокатать валик жесткости или фасонную отбортовку, устанавливают винтом ограничительную рамку на заданную величину. Затем поднимают рычажным винтом верхний ролик настолько, чтобы конец обрабатываемой детали вошел между роликами. После этого деталь два раза пропускают, вращая рукоятку, между роликами (во время прокатки ролик постепенно поджимают винтом). Когда валик достигнет требуемой величины, вращение прекращают, ролик поднимают вверх и деталь снимают.
При резке ножницами два ножа из твердой закаленной и подверженной отпуску стали с отшлифованными плоскостями перемещаются с небольшим трением относительно друг друга так, чтобы их режущие кромки постепенно пересекались.
Листовой металл располагают между ножами перпендикулярно к плоскости трения и по мере окончания резки одним резом его перемещают в этой плоскости.
В зависимости от привода механизма резания ножницы бывают с ручным или электромеханическим приводом (рис. 6.60). Электромеханические ножницы подразделяются на переносные и стационарные.

Все большее применение для резки металла, находят переносные отрезные машинки, которые можно использовать также для удаления ржавчины, старой краски и т. д. Такая машинка состоит из электродвигателя, углового редуктора и отрезного круга. Частота вращения вала редуктора 10…11 тыс. об/мин. Благодаря высокой частоте вращения вала отрезные машинки высокопроизводительны, после работы с ними не требуется зачистка и выправление металла. Их недостаток – частая смена дорогих отрезных кругов.
Широкое распространение для резки металла имеют гильотины.
Гильотина (рис. 6.61) для металла может быть ручной или автоматической (пневматической, гидравлической, электрогидравлической).

На гильотине благодаря особому способу заточки режущей части производится аккуратная точная резка металла. Срез при работе с металлом даже значительной толщины получается без зазубрин, неравномерного скоса, заусениц, серповидных отклонений, смятой кромки – максимально точный.
Ручные гильотины, привод которых осуществляется за счёт физической силы рабочего, предназначены для прямолинейной резки, просты в использовании и не требуют затрат на привод, имея небольшие габариты.
Рекомендуются для резки тонколистового металла толщиной до 1-1,5мм. Прижим листа до линии реза фиксирует металл и не повреждает покрытие. Отличаются высоким качеством реза и небольшой стоимостью.
Главной деталью автоматических гильотин является тяжёлый косой нож, движущийся вдоль вертикальных направляющих. Глубокий зев в станине позволяет производить резку листов большей базовой ширины и обеспечивает резку листа «под углом». Такие гильотины применяются для резки металла толщиной до 6,5 мм.
Термическая резка металлов. В процессе термической резки металлов, в отличие от механической резки, осуществляется нагрев разрезаемого металла до таких температур, при которых металл в зоне резки либо сгорает (окисляется), либо расплавляется. В зависимости от способа нагрева и особенностей химического взаимодействия металла с кислородом используется несколько видов термической резки, но при ремонте кузовов легковых автомобилей применяют в основном кислородную газовую резку.
Кислородная газовая резка основана на сгорании железа в чистом кислороде. Для резки сталей производят местный нагрев до красного цвета с помощью пламени специальными нагревательными устройствами. Если в разогретую докрасна зону подать под давлением струю кислорода, то железо сгорит. Перемещение нагревательного пламени и струи кислорода создает в разрезаемом металле прорезь. Сгоревший металл или окалина вылетает в виде искр в направлении, обратном направлению реза. В качестве горючих используются те же газы, что и при газовой сварке (см. раздел сварка), а также пары керосина.
Схема процесса кислородной резки показана на рис. 6.62. Смесь кислорода с горючим газом выходит из мундштука резака 2 по каналу, имеющему в поперечном сечении форму кольца и сгорает, образуя подогревательное пламя 3. Этим пламенем металл 5 нагревается до температуры его воспламенения. После этого по центральному каналу мундштука 1 подают режущий кислород 6, при соприкосновении которого с нагретым металлом 5 происходит его загорание.

При горении верхних слоев металла выделяется значительное количество теплоты, которое совместно с теплотой подогревательного пламени разогревает нижележащие слои металла. Горение распространяется на всю толщину металла. Сгоревший металл в виде шлака выдувается струей кислорода. Происходит прожигание сквозного отверстия, через которое проходит струя, режущего кислорода. При перемещении резака, фиксируемого на определенном расстоянии от поверхности металла, по прямой или кривой линии происходит сжигание металла и его разрезание по этой же линии.
Кислородной резке поддаются те металлы, которые удовлетворяют следующим требованиям:
— температура воспламенения металла в кислороде ниже температуры его плавления;
— температура плавления оксидов металла ниже температуры горения металла, в противном случае тугоплавкие оксиды не будут выдуваться струей кислорода и процесс резки может прекратиться;
— количество тепла, выделяющееся при сгорании металла в кислороде, достаточно для поддержания необходимой температуры его воспламенения;
— теплопроводность небольшая, иначе вследствие интенсивного теплоотвода процесс резки становится невозможным.
Разрезаемость стали зависит от содержания в ней углерода, постоянных примесей (кремний, марганец, сера, фосфор) и легирующих элементов, которые быстрее железа вступают в реакцию с кислородом, а также образуют в зоне резки трудноудаляемые оксиды.
Кислородную резку осуществляют резаками. Резаки для кислородной резки выполняют задачи смешивания горючих газов или жидкостей с кислородом для образования подогревающего пламени и подачи в зону резки струи чистого кислорода. Резаки классифицируют по следующим признакам:
— по виду резки – для разделительной и поверхностной резки;
— по назначению – для ручной резки, механизированной и специальные;
— по роду горючего – для ацетилена, газов — заменителей и жидких горючих;
— по принципу действия – на инжекторные и безинжекторные;
— по конструкции мундштуков – на щелевые и многосопловые.
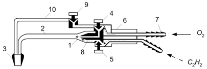
Резаки для кислородной резки предназначены для смешивания горючего газа с кислородом, образования подогревающего пламени и подачи к разделяемому металлу струи чистого кислорода через вентиль 9 и трубку 10 (рис. 6.63). Принцип работы резаков аналогичен сварочным горелкам. Наибольшее применение получили универсальные инжекторные ручные резаки для разделительной резки.

1 – камера; 2 – наконечник; 3 – мундштук; 4 ,5 – вентили; 6 – корпус горелки; 7 – штуцер; 8 – инжектор; 9 – вентиль; 10 – трубка
Газовая резка обладает рядом недостатков: пламя разрушает противокоррозионную защиту, приводит к изменению структуры металла и как следствие к снижению прочности и жесткости кузова. В связи с этим газовую резку при ремонте легковых автомобилей применяют крайне редко.
Удаление поврежденных элементов кузова вырубкой выполняют вручную с помощью зубила или пневматических резаков с набором специальных насадок.
Резка металла осуществляется двумя основными способами – механическим (сверление, распилка, разрезание ножницами и т.д.) и термическим, исключающим применение силового воздействия.
6.2.6.2. Технологии замена поврежденных элементов кузова
Замена крыши. В некоторых случаях приходится заменять крышу. Если замена осуществляется совместно с заменой ее продолжений, каковыми являются проем ветрового стекла и панели задней боковой стенки кузова, которые на некоторых моделях автомобилей выполняются как единое целое с крышей, то перед началом жестяных работ снимают двери, панель приборов, обивку крыши, сиденья, а также при необходимости – капот, крышку багажника и съемные крылья. На других моделях автомобилей задние боковые панели соединены с задними крыльями или являются их частью. После разделения точек сварки или разрезки пилой их закрепляют газовой сваркой.
Замена задних боковых панелей производится редко и не представляет экономического интереса. Когда стойки проема ветрового стекла находятся в хорошем состоянии, разрезка их и соединение могут производиться на половине высоты. При этом передние крылья снимать необязательно.
К остову кузова крыша приваривается точечной сваркой. Чтобы произвести замену крыши, необходимо разъединить точечную сварку обычными способами. Если остов кузова деформирован, то вначале его выправляют. После удаления поврежденной крыши облегчается доступ к верхней части кузова. При наличии поврежденного места его выправляют, контролируя правильность формы установкой дверей и новой крыши. Если верхняя часть остова кузова сильно деформирована, то производят частичную замену деформированных зон новыми частями. Ограниченная замена с последующим соединением верхней части остова кузова с верхом панелей задней боковой стенки и со стойками ветрового стекла на половине их высоты намного уменьшает объем работ по разделению точечной сварки.
Разрезают стойки ветрового стекла на половине их высоты ножовкой, при этом необходимо следить, чтобы не разрезать остов кузова, если он не был деформирован.
Устанавливают новую крышу и ударами руки сверху подгоняют ее по месту. Крышу предварительно закрепляют и проверяют правильность формы рамки заднего и ветрового стекол. Проверка осуществляется либо установкой стекол, либо с помощью шаблонов, либо путем измерений, либо контроля щупами. Таким же образом производят установку дверей.
Установленные детали прихватывают в нескольких точках точечной сваркой и, убедившись, что геометрия осталась неизменной, производят окончательную сварку.
Разрез, выполненный на половине высоты стоек ветрового стекла, заваривается дуговой сваркой в среде защитного газа. Если крыша вырезалась по всем четырем углам, то предпочтительнее произвести твердую пайку швов, чтобы обеспечить наилучшую герметичность.
Несколько слов о пластмассовых крышах. Пластмассовые крыши крепятся специальными заклепками к остову металлического кузова, при этом места соединения покрываются герметиком. Снятие такой крыши заключается в высверливании заклепок и их удалении.
Если производится замена остова кузова и крыши новыми деталями, то отверстия сверлят в местах, предусмотренных изготовителем. Затем детали разъединяют и покрывают места соединения герметиком. При установке соединяемых деталей совмещают отверстия с помощью оправок и вставляют заклепки.
Некоторые крыши из слоистого пластика завальцовываются в металл. Другие крыши крепятся изнутри винтами. Завальцованные панели являются съемными.
Замена переднего крыла. При незначительных повреждениях крыла (небольшие вмятины, царапины и т. д.), не снимая его, выполняют рихтовочные и покрасочные работы. После рихтовки проверяют состояние внутреннего противокоррозионного покрытия, при необходимости восстанавливают его.
При значительной деформации, наличии разрывов крыло заменяют, для чего выполняют следующие работы. Снимают бампер, капот, переднюю дверь. С крыла снимают осветительные приборы.
Большинство деталей, составляющих безрамный кузов, соединяются посредством точечной сварки. На машиностроительных заводах точечная сварка осуществляется с помощью роботов, обеспечивающих шаг (расстояние между каждой точкой) сварки, определенный на стадии проектирования кузова. При ремонте рекомендуется придерживаться этого заданного шага сварных точек. Каждая точка легко различается по отпечатку электрода, оставленному на металле. Отпечаток представляет собой небольшую впадину глубиной несколько десятых долей миллиметра и диаметром, равным 4–6 мм в зависимости от толщины листового материала. Если отпечатки закрыты краской, ее необходимо счистить, чтобы вскрыть отпечатки. Отделять сварные детали можно тремя способами:
– полным или частичным высверливанием точек сварки;
– вырубкой точек сварки;
– вырубкой листа как можно ближе к линии сварки, отрывом металла между точками сварки и последующей зачисткой.
Рассмотрим первый способ – сверление. Независимо от применяемого сверлильного инструмента необходимо накернить центры точек сварки, чтобы обеспечить центрирование сверла.
Сверлить можно специальными инструментами, работающими по типу фрез, применяемых при механической обработке. Фреза приводится в движение электродрелью и, вращаясь вокруг неподвижного центра, образует круговую выточку вокруг сварочной точки. Глубина фрезеровки выбирается предварительно равной толщине листа, что приводит к разделению сваренных элементов. На необработанном фрезой листе остается центральная часть сварной точки, которую можно срезать другой фрезой, вводимой в предварительно выполненную цилиндрическую выточку.
Чтобы удалить центр сварной точки сразу после вырезки цилиндрической канавки без смены инструмента, более удобно применять две электродрели. Можно также прорезать цилиндрическую канавку по всей сварочной точке и после разъединения сваренных деталей зачистить оставшийся в местах сварки металл. При этом форма листа, который не подвергался обработке ни сверлом, ни каким-либо другим инструментом, остается неизменной.
Можно сверлить спиральными сверлами, диаметр которых равен диаметру сварочного пятна. После высверливания всех точек сварки и разъединения деталей на опорной детали остается ряд сквозных отверстий. Эти отверстия можно закрыть припоем методом твердой пайки, а затем зачистить шлифовальным инструментом. Твердая пайка является более предпочтительной по сравнению с газовой сваркой, поскольку обеспечивает более низкую температуру нагрева и, как следствие, снижает коробление. Коробление устраняется рихтовкой.
Есть и такой способ – предварительное сверление отверстия малого диаметра, а затем зенковка. В центре сварочной точки сверлится небольшое отверстие диаметром 3 мм, не проходящее насквозь нижний лист. Это отверстие служит для направления режущей части сверла, диаметр которого принимается чуть больше диаметра сварочной точки. Режущая часть сверла затачивается под углом, близким к 180°, и оставляет на поверхности нижнего листа небольшую бобышку. В процессе зенковки надо следить, чтобы сверло не вошло слишком глубоко в металл и не просверлило насквозь нижний лист.
Вырубка сварочных точек осуществляется специальным зубилом, предназначенным для этой работы, вручную (ручное зубило) или с помощью пневматического инструмента. Зубило вводится между листами так, чтобы его прорезь охватывала вырубаемую точку сварки.
Рассмотрим вырубку листа, разъединение и последующую зачистку. Операция заключается в том, что вместо удаления поврежденной детали целиком ее удаляют частями. Сначала вырубают поврежденную деталь как можно ближе к линии расположения точек сварки. Вырубка может быть выполнена пневматическим инструментом, снабженным зубилом. Можно также выполнить эту операцию и обычным зубилом. Однако нельзя применять для этой цели кислородно-ацетиленовую горелку, так как она сильно нагревает металл (ухудшает все механические характеристики листового металла), вызывает загорание любых близких к очагу внутренних антикоррозионных покрытий и способствует развитию коррозии.
После вырубки остается лента металла, на которой приблизительно по центру располагаются точки сварки.
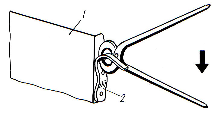
После удаления сварных точек отсоединяют желобок тонким плоским зубилом с отогнутым концом или отделяют клещами (рис. 6.64).

1 – деталь кузова; 2 – полоса металла
Затем тонким острозаточенным зубилом срубают или срезают шлифовальной машинкой соединения крыла: с панелью передней части автомобиля от фары вниз, отступив 2…3 мм от линии соединения; с передней стойкой боковины, отступив 5 мм от линии изгиба.
Отсоединяют крыло и зубилом удаляют его оставшиеся полоски. Рихтуют деформированные кромки и зачищают посадочные места кузова и нового крыла. Из полости, закрываемой крылом, удаляют грязь, ржавчину, наносят цинкохроматную грунтовку ГФ-073. Ставят на место капот и дверь. Прошивают в новом крыле отверстия диаметром 5 мм с шагом 40–50 мм по усилителю передней стойки, сточному желобку, по кромкам соединения крыла с кожухом фары и боковой панелью. Прошивают отверстия в панели передка по кромке вертикальной отбортовки ниже кожуха фары. Подгоняют новое крыло по месту посадки и быстро прихватить его зажимными клещами. При этом дверь и капот должны быть установлены на место, проверены равномерность зазоров по сопрягаемым деталям, а также допустимые размеры по выступающим и западающим частям лицевых поверхностей.
Прихватывают латунным припоем крыло в соединениях: с рамой ветрового окна и верхней поперечиной передка – в трех точках; с панелью передка – в трех точках; с порогом – в двух точках; с усилителем передней стойки – в двух точках.
Приваривают крыло к сопрягаемым деталям передка кузова: к брызговику переднего лонжерона – по сточному желобку; к кожуху фары; к панели передка ниже кожуха фары, через отверстие в панели передка; к боковой панели остова кузова – по нижней горизонтальной части крыла; к передней стойке – по вертикальному усилителю.
Сварка – точечная, электродуговая, в защитном газе, по предварительно прошитым отверстиям. Допускается ацетиленокислородная (газовая) сварка с применением в качестве присадочного материала проволоки Св-08 диаметром 1,5–3 мм, проволоки ЛКМЦ или латунного припоя Л63 диаметром 2–3 мм.
После сварки зачищают швы шлифовальной машинкой заподлицо с основным материалом и загрунтовать. На отдельные места при необходимости наносят шпаклевку и зашлифовывают поверхности.
Замена заднего крыла. Замену заднего крыла производят следующим образом. Снимают задний фонарь и бампер, освобождают багажное отделение, снимают резиновый уплотнитель крышки багажника и топливный бак (если меняется правое крыло) и отсоединяют электропроводку. Срубают тонким острозаточенным зубилом или срезают шлифовальной машинкой соединения крыла: с аркой заднего колеса по изгибу, отступив от кромки 12…15 мм; с полом запасного колеса (или топливного бака) по изгибу, отступив от кромки крыла 12…15 мм; с панелью задка, отступив от линии соединения 2 мм; с панелью поперечины заднего окна, отступив от кромки изгиба 2…3 мм; с задней частью боковины по изгибу, отступив от кромки крыла 15…20 мм.
Срубают угольник соединения крыла с панелью задней части автомобиля, отступив от кромки угольника 15 мм. Сверлом диаметром 6…7 мм высверливают точки контактной сварки соединения крыла с боковой панелью крышки и отсоединяют крыло.
После удаления детали, подлежащей замене, появляется доступ для правки детали. Необходимо выправить возможные деформации, отрихтовать места контакта, удалить все следы коррозии пескоструйным аппаратом или химическим способом. (Следует избегать удаления ржавчины режущим кругом, так как при этом уменьшается толщина листа, что вызывает снижение надежности соединения точечной сваркой). Затем надо тщательно вымыть обработанную часть детали и высушить.
Поверхность листов, соединяемых точечной сваркой, должна быть очень чистой, причем металл лицевой и оборотной сторон листов, где требуется выполнить точки сварки, должен быть зачищен.
Удаляют оставшиеся полоски крыла, рихтуют деформированные кромки и зачищают посадочные места кузова и нового крыла. Подгоняют новое крыло по месту посадки, прихватывают захватами и приваривают газовой сваркой или электросваркой в среде углекислого газа.
Проверяют посадку крыла и приваривают его контактной сваркой с шагом 40…50 мм или электросваркой в среде углекислого газа.
Замена порогов дверей. Пороги заменяют при их значительной деформации или сквозных коррозионных разрушениях. Замену порогов (рис. 6.65) выполняют при снятых передних и задних крыльях. Усилитель заменяют только при наличии деформации или сквозной коррозии.

1 – соединитель; 2 – усилитель порога; 3 – наружная панель порога (штрихами линией обозначены линии рубки, точками – швы контактной сварки, стрелки указывают места газовой сварки)
Снимают дверь и приваривают панель порога к сопрягаемым деталям контактной сваркой с шагом 50…60 мм. Допускается электросварка в среде углекислого газа током силой 50…90 А или газовая сварка. Приваривают панель к центральной стойке газовой сваркой и зачищают сварные швы.
Порядок выполнения работ следующий.
Двери, передние и задние крылья должны быть сняты. Порог срубить. Накладку и соединитель при наличии сквозной коррозии заменить. В случаях аварийного повреждения эти детали должны быть выправлены.
Удалить полоски оставшегося металла срубленной детали кусачками и зубилом, затем деформированные кромки накладки, соединителя и пола подрихтовать и зачистить шлифовальной машинкой.
Полости, закрываемые порогом, и внутреннюю поверхность порога обработать цинкохроматным грунтом.
По линиям сопряжения порога с накладкой (по всей длине верхней и нижней кромок) прошить отверстия диаметром 5 мм с шагом 40–50 мм. Затем порог установить на место и закрепить быстрозажимными клещами.
Для контроля правильности сборки порога в проемы устанавливают двери и проверяют зазоры с сопрягаемыми деталями. Зазоры в сопряжении порога с дверями должны быть не более 5±2 мм. Допускается выдвижение дверей относительно лицевой неподвижной поверхности порога не более чем на 3 мм. Затем двери снимают.
Приварить порог к сопрягаемым деталям: по стыкам с боковиной кузова спереди и сзади сплошным швом; по кромкам, прилегающим к накладке, – электрозаклепками через отверстия, прошитые в кромках порога; по месту сопряжения с центральной стойкой – сплошным швом.
Места сварки порога с сопрягаемыми деталями независимо от вида сварного шва зачистить заподлицо с основным металлом шлифовальной машинкой и загрунтовать.
Дополнительно можно посмотреть фильм 6.23
Замена передка кузова. Передок кузова заменяют в тех случаях, когда основные детали передка (панель передка с кожухом фар, передние крылья, силовые поперечины и особенно передние лонжероны с брызговиками) восстановить методами растяжки-правки невозможно. Порядок замены следующий.
Снять передний бампер, капот, аккумуляторную батарею и осветительные приборы.
Снять двигатель с коробкой передач и передней подвеской, а также навесные узлы, приборы и электропроводку, размещенные в моторном отсеке.
Срубить передние крылья.
Срубить брызговики и передние лонжероны от щитка передка и лонжеронов пола. Операцию выполняют острым зубилом по панели брызговиков на расстоянии 10–15 мм от щитка передка. Передние лонжероны отделяют от лонжеронов пола в местах их сопряжения по точкам контактной сварки.
Удалить оставшиеся полоски металла кусачками и тонким острым зубилом. Деформированные кромки сопрягаемых деталей отрихтовать и зачистить шлифовальной машинкой.
Прошить отверстия диаметром 5 мм в кромках брызговиков по месту их сопряжения со щитком передка. Шаг 30–40 мм.
Подогнать новые лонжероны с брызговиками по местам, сопрягаемым со щитком передка и лонжеронами пола. Закрепить лонжероны в кронштейнах крепления поперечины передней подвески и стабилизатора поперечной устойчивости. Прихватить газовой сваркой латунным припоем Л63 брызговики с лонжеронами к щитку передка и лонжеронам пола.
Прошить отверстия диаметром 5 мм с шагом 30–40 мм в кромках нижней поперечины передка.
Выставить нижнюю поперечину передка по передним концам лонжеронов и приварить ее по сопрягаемым поверхностям в защитном газе.
Прошить отверстия в отбортовке щитков радиатора, выставить их по месту и прихватить латунным припоем. К щиткам радиатора приварить верхнюю поперечину рамки радиатора.
Прошить отверстия с шагом 30–40 мм в кромках панели передка по местам сопряжения со щитками радиатора и по отбортовке в местах сопряжения с передними крыльями (ниже кожуха фары), выставить и прихватить ее латунным припоем.
Навесить крылья и капот, выполнить предварительный контроль передка кузова по зазорам и плотности прилегания к сопрягаемым деталям. При соответствии требованиям детали передка кузова сварить окончательно.
Брызговики к щитку передка приваривают точками по прошитым отверстиям в отбортовке:
а) передние лонжероны по отбортовке приваривают к щитку передка прерывистым швом длиной примерно 30 мм через каждые 40 мм; сварку в местах стыковки передних лонжеронов с лонжеронами пола выполняют сплошным швом;
б) щитки радиатора к нижней поперечине передка и к брызговику приваривают точками по прошитым отверстиям;
в) панель передка с кожухами фар и верхней поперечиной приваривают точками к щиткам радиатора через прошитые отверстия; нижнюю поперечину передка приваривают точками к панели передка по отверстиям, прошитым в ее кромках, а в верхней части сваривают по сопрягаемым местам с брызговиками передка.
Дополнительно можно посмотреть фильм 6.24
Замена задка кузова . Задок кузова заменяют в тех случаях, когда основные его детали (панель задка, пол багажника, пол для бензобака, пол для запасного колеса и задние лонжероны) восстановить методами растяжки-правки не удается. Порядок разборки следующий.
Снять крышку багажника, инструментальные сумки, коврик багажника, задний бампер, осветительные приборы, электропроводку, запасное колесо и топливный бак.
Срубить задние крылья; панель задка от усилителя панели, пола для топливного бака и пола для запасного колеса; пол для топливного бака от заднего лонжерона и внутренней арки заднего колеса; пол для запасного колеса от внутренней арки заднего колеса и заднего лонжерона; пол багажника от соединителя и задних лонжеронов; задние лонжероны от внутренних арок заднего колеса и соединителя.
Удалить полоски оставшегося металла, отрихтовать деформированные кромки и зачистить их шлифовальной машинкой.
Порядок работ при сборке следующий.
Установить на место задние лонжероны и прихватить газовой сваркой латунным припоем.
К низу пола багажника приварить центральный усилитель, держатель с асбестовой прокладкой, кронштейн крепления глушителя (40–50 мм – шаг сварки в защитном газе).
Установить на место пол багажника и прихватить латунным припоем.
К задним лонжеронам и аркам задних колес установить по месту пол для топливного бака и пол для запасного колеса и прихватить латунным припоем.
Панель задка выставить по окнам кронштейнов крепления заднего бампера, подвести к ней усилитель и прихватить латунным припоем.
Навесить задние крылья, установить крышку багажника и произвести предварительный контроль сопрягаемых деталей.
Выполнить сварку установленных деталей прерывистым швом (длина шва 10 мм, шаг 40…50 мм). Усилитель панели задка приварить к задней панели точечной сваркой, к задним лонжеронам – сплошным швом по длине отбортовки.
Сварку ведут в режиме: сила тока 50…90 А; напряжение 17…23 В. Проволока стальная омедненная Св-08ГС или Св-08Г2С, диаметр 0,8 мм. Сварка может быть выполнена полуавтоматами типов А-547У, А-825М, А-1230М, ПДГ-302, ПДГ-305 и др.
Возможна ручная газовая сварка с использованием в качестве присадочного материала стальной или латунной проволоки диаметром 2–3 мм.
Сварные швы на лицевых поверхностях кузовных деталей должны быть зачищены шлифовальной машинкой заподлицо с основным металлом.
Сварные швы на днище кузова автомобиля, внутри салона на полу кузова, в моторном отсеке и багажнике, т. е. расположенные не на лицевых поверхностях, должны быть зачищены в местах некачественных швов, а также по местам точечных выплесков сварного металла.
Все сварные швы независимо от их месторасположения должны быть обработаны цинкохроматным грунтом ГФ-073.
В целях надежной герметизации и защиты кузова от преждевременной коррозии на стыки и сварные швы при ремонте всего кузова, а также при замене его отдельных элементов должны быть нанесены уплотняющие мастики.
Дополнительно можно посмотреть фильм
6.25: https://www.youtube.com/watch?v=dWLivPS9k34
6.2.6.3. Технологии правки съемных деталей
Съемными деталями кузова, которые чаще всего страдают при аварии, являются капот двигателя, крышка багажника, двери, бамперы и крылья . Если стоимость ремонта ниже стоимости замены поврежденной детали новой, то производят выколотку поврежденного участка. Если деформация съемных деталей кузова значительна, то предварительное восстановление формы должно выполняться посредством гидравлического или винтового домкрата, снабженного специальными приспособлениями, обеспечивающими выполнение данной операции.
Перед правкой необходимо снять съемные детали, которые могут быть повреждены при правке. Неподвижное закрепление домкрата производят на предусмотренных для каждого конкретного случая подставках или плите посредством цепей и зажимов.
После предварительной выправки с помощью домкрата производится рихтовка и выравнивание поверхности. Если при правке производился нагрев точек усадки, надо тщательно обработать поверхности, подвергшиеся нагреву, антикоррозионной мастикой.
Чтобы произвести правку кузова, жестянщику (кузовщику) приходится снимать детали, установленные на обшивку кузова, так как они либо находятся в зоне ремонта, либо в непосредственной близости от нее и могут быть повреждены. Кроме того, в обычной практике эти детали часто либо ремонтируют, либо меняют на новые, а до этого используют в качестве опор для растяжки поврежденных участков кузова.
Так, петли и замки являются частью скобяных изделий кузова. Они устанавливаются на подвижные детали кузова – двери, капоты, багажники. Петли предназначены для шарнирного соединения съемных деталей одной стороной к кузову. Замки устанавливаются на стороне, противоположной шарнирному соединению, чтобы обеспечить открытие и закрытие дверей. Если замки находятся в положении «закрыто», их роль – обеспечить блокировку, предотвратить открытие дверей.
Замки и петли обычно устанавливают с возможностью регулировки, чтобы обеспечить наилучшее расположение деталей, на которые они установлены. В большинстве случаев ремонт этих деталей заключается в регулировке петель и замков для точного центрирования дверей. Если ремонт поврежденных деталей оказывается невыгодным, производят их замену. В этом отношении могут возникнуть некоторые проблемы, поскольку производство подобных деталей не стандартизировано, к каждой модели автомобиля выпускаются свои скобяные детали.
Дверные петли изготовляют из мягкой стали в виде пластинок толщиной 3–4 мм. Каждая пластинка заканчивается трубчатой отбортовкой, обработанной так, чтобы в одной пластинке образовался паз, а в другой шип, посредством которого две пластинки соединяются между собой. Трубчатые участки пластинок образуют шарнирную ось, общую для петли.
В большинстве случаев оси петель выполняются из полых трубчатых разрезных штифтов или из сплошных цилиндрических прутков. Если петля съемная, то пластина петли, прикладываемая к передней или задней стойке, имеет несколько просверленных отверстий, которые предназначены для установки крепежных винтов. Вторая пластина обычно приваривается к внутреннему коробу двери.
Крепление съемных петель осуществляется следующим образом. Во внутренней полости передней или задней стойки выполнена коробка из листового материала, в которой помещается пластинка с резьбовыми отверстиями. Диаметр отверстий, просверленных в листе стоек, несущих петли, больше диаметра, необходимого для прохода винтов. Зазор между отверстиями, а также между пластинкой с резьбовыми отверстиями и коробкой, в которую она установлена, обеспечивает возможность регулировки закрепленных деталей. Крепежные винты проходят через гладкое отверстие в крыле петли, затем через лист стойки и ввинчиваются в резьбовые отверстия внутренней планки.
Если дверные петли у многочисленных моделей автомобилей по своей конструкции в значительной степени похожи, то петли капота представляют собой большое разнообразие форм даже для разных моделей одной и той же марки автомобиля. Главный признак этих петель – асимметрия шарниров. Один из шарниров более длинный и крепится под капотом чаще всего на некотором расстоянии от края. Причина создания именно такой конструкции в том, что капоты в большей части имеют большую выпуклость, чем двери, и им требуется больше свободного места в процессе поворота.
Так как капот открывается вверх, то вместе с петлями на него установлено устройство, предотвращающее возврат капота вниз под действием собственного веса. Профили, усиливающие панель капота, имеют небольшую высоту по сравнению с усилительными профилями внутреннего короба двери, поэтому петли капота крепятся иначе. Обычно петля капота устанавливается так, что одно крыло прямоугольной формы крепится к кузову, в то время как другое в форме крюка («лебединая шея») устанавливается на внутреннюю поверхность капота.
Дверные замки устанавливают внутри дверного короба. Управление замком может осуществляться снаружи и изнутри автомобиля. Есть много разновидностей замков, их можно классифицировать по способу перемещения язычка: замки с прямолинейным перемещением язычка и замки с вращающимся язычком и храповиком.
Крепят замки винтами. Личинка замка устанавливается на среднюю или заднюю стойку лицевой поверхности к защелке при закрытой двери. Замок устанавливается в строго определенное место, которое нельзя изменить. Регулировка замка производится следующим образом: ослабляют винты крепления личинки, перемещают ее и снова затягивают крепежные винты (крепежные винты обычно имеют головку с крестовым шлицем). Винты входят в пластинку с резьбовыми отверстиями, которая может иметь небольшие перемещения при ослабленных винтах. Обычно для надежности личинки выполняются с двумя прорезями. Если одна прорезь не удерживает дверь, то вторая предотвращает самооткрывание двери на ходу автомобиля.
Личинка двери устанавливается в вертикальное положение, затем дверь плавно закрывают. Язычок замка входит в первую прорезь, о чем свидетельствует легкий щелчок защелки. Происходит сжатие резиновых уплотнений двери. Снова нажимают на дверь, чтобы язычок вошел во вторую прорезь личинки. Если язычок не входит во вторую прорезь, то открывают дверь, ослабляют винты крепления личинки, слегка перемещают личинку наружу и затягивают винты. Затем снова проверяют работоспособность двери. Если язычок прошел вторую прорезь, то при закрытии двери появляется в большей или меньшей степени громкий звук. Дверь открывают, слегка ослабляют винты крепления личинки, перемещают личинку внутрь, затягивают крепежные винты и снова проверяют работоспособность двери.
Дверь считается отрегулированной правильно, если не возникает громкого звука и не требуется прилагать большое усилие для закрытия замка. При регулировке замка надо помнить, что наружная панель двери должна находиться на одном уровне с другими деталями боковой поверхности кузова.
Блокировка закрытия капота и крышки багажника осуществляется автоматически. Разблокировка замка для открытия может осуществляться или только с внешней стороны автомобиля, или снаружи и изнутри. Управление замком изнутри автомобиля может осуществляться либо с помощью электрического кабеля, либо посредством системы рычагов и тяг с пружиной. Управление замком снаружи осуществляется непосредственно и может быть дополнено предохранительным запором.
Замок состоит из стопора, в выточку которого входит язычок замка, фиксируя таким образом капот или багажник. На автомобилях, передний капот которых открывается с переда назад, предохранительный стопор предназначен для предотвращения внезапного открывания капота при несвоевременном открытии основного фиксатора на ходу автомобиля. Пружины прижимают язычок замка к фиксатору. Положение этих деталей не регулируют, так как они занимают единственную позицию. Необходимо следить за их правильным центрированием, которое осуществляется при общем регулировании капота на петлях. Надо также периодически производить смазку осей, приводных тросов с дистанционным управлением, а также деталей, скользящих друг относительно друга. Эти детали легко снимаются – достаточно отвинтить винты или болты. Если детали повреждены или плохо работают, их заменяют.
В последние годы любительский автопарк нашей страны не только многократно вырос в количественном отношении, но и стал более разнообразным. На некоторых кузовах автомобилей типа «седан» или «лимузин» крыша выполнена не сплошной, а открывающейся над передними сиденьями. С одной и другой стороны открывающейся части кузова выполнены рукоятки, обеспечивающие открытие и закрытие подвижной панели крыши, установленной на роликах. Перемещаясь в обратном направлении, панель осуществляет частичное или полное открытие крыши. Блокировочное устройство обеспечивает фиксацию подвижной панели в закрытом положении.
Этот механизм также не вечен. Чаще всего заедают ролики, что случается от попадания в механизм воды. Если заедание роликов незначительное, их слегка смазывают для облегчения вращения на осях. Если засорились водосливные отверстия, их прочищают.
Разнообразные шумы, стук устраняются путем замены изношенных гибких уплотнительных лент новыми. Шум воздуха обычно возникает из-за превышения подвижной части открывающейся крыши над основной крышей. Для устранения шума надо произвести регулировку открывающейся крыши в положении, когда она слегка отодвинута назад.
Следующая съемная часть кузова – сиденья . Они предназначены для создания комфорта. В зависимости от типа автомобиля конструкция сидений может быть простой или более сложной и более комфортабельной с использованием материалов, применяемых для изготовления мебели.
Различают два основных вида сидений: сплошные (диванного типа) и раздельные. Передние сиденья обычно устанавливаются на направляющие или другую регулируемую систему перемещения, которая обеспечивает требуемое расположение сидений в зависимости от габаритов водителя или пассажира. Спинки сидений обычно выполняются регулируемыми по углу наклона. В большинстве случаев сиденья выполняются раздельными или сплошными с раздельными спинками. Задние сиденья чаще всего выполняются в виде диванчиков, исключение составляют автомобили с кузовом «универсал» и многоместные автомобили, у которых сиденья выполняются раскладными для увеличения объема перевозимых грузов.
Любое сиденье, независимо от его типа, состоит из металлического каркаса и набивки различной толщины и мягкости. Наружный видимый слой набивки представляет собой драпировку. Работы по набивке и драпировке сидений выполняются на предприятиях, производящих сиденья.
Каркас сиденья, конструкция которого изменяется в зависимости от типа автомобиля, обычно выполняется из жестких трубок. Каркас откидных спинок выполняется эластичным из спиральных пружин. В настоящее время пружины заменяют блоками из пенопласта различной плотности. Некоторые из применяемых для этой цели химических материалов обладают высокой стойкостью.
Если сиденье не нуждается в замене, то ремонту в основном подвергаются системы перемещения сидений и трубчатая арматура, в особенности это касается передних сидений. В случае загрязнения направляющих и помехи перемещению сидений необходимо прочистить направляющие. Если консольная часть направляющих деформирована, то при незначительной деформации их снимают и подвергают правке. Если направляющие сильно деформированы, их необходимо заменить новыми.
Трубки каркаса сидений иногда ломаются в местах, подвергаемых действию изгибающих усилий. Чтобы заварить трубки, сиденья снимают, частично или полностью снимают также драпировку. При частичной разборке сидений обивку защищают листовым металлом.
Контрольные вопросы к подразделу 6.2.6
1. В чем заключается сущность технологии замены крыши кузова?
2. В чем заключается сущность технологии замены переднего и заднего крыльев кузова?
3. В чем заключается сущность технологии замены порогов кузова?
4. В чем заключается сущность технологии замены задка и передка кузова?